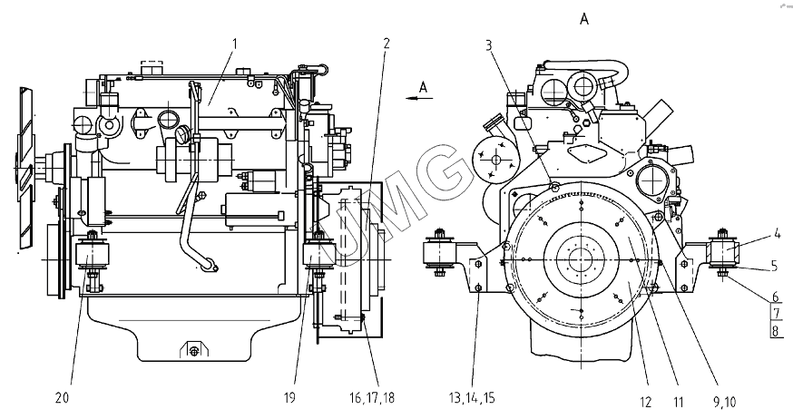
ГС-14.03. Установка двигателя 724.02.01.00.000
1
2
3
4
5
6
7
8
9
10
11
12
13
14
15
16
17
18
19
20
| Позиция на иллюстрации | Заводской номер детали | Название детали | |
|---|---|---|---|
| 1 | DEUTZAGBF4M1013FC | Двигатель | |
| 2 | CF-RV-216-011-61483-HR | Муфта эластичная | |
| 3 | БолтМ16х80 | Болт | |
| 4 | 200.16.00.01.000 | Амортизатор | |
| 5 | 200.16.00.00.001 | Шайба | |
| 6 | 225.02.05.00.007 | Болт | |
| 7 | 200.08.00.00.053 | Шайба | |
| 8 | ГайкаМ16 | Гайка М16 | |
| 9 | 724.02.01.01.100 | Кожух | |
| 10 | 724.02.01.01.200 | Кожух | |
| 11 | БолтМ8х16 | Болт М8х16 | |
| 12 | Шайба8.65Г | Шайба 8.65Г | |
| 13 | БолтМ12х50.88.40Х | Болт | |
| 14 | ГайкаМ12 | Гайка М12 | |
| 15 | Шайба12.65Г | Шайба12.65Г | |
| 16 | 724.02.01.00.001 | Болт | |
| 17 | 283.02.01.00.008 | Шайба стопорная | |
| 18 | 724.02.01.00.002 | Шайба стопорная | |
| 19 | 724.02.01.02.000 | Опора | |
| 20 | 724.02.01.03.000 | Опора |