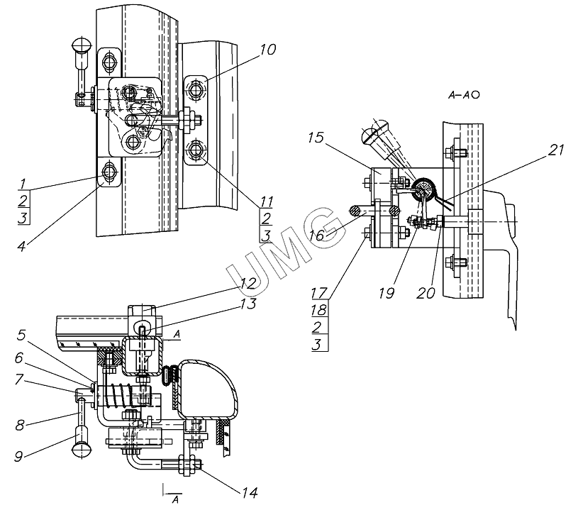
ГС-14.03. Установка замка КУ.51.11.200
1
2
2
2
3
3
3
4
5
6
7
8
9
10
11
12
13
14
15
16
17
18
19
20
21
| Позиция на иллюстрации | Заводской номер детали | Название детали | |
|---|---|---|---|
| 1 | БолтМ8х16 | Болт М8х16 | |
| 2 | ШайбаС.8х2.02 | Шайба | |
| 3 | Шайба8.65Г | Шайба 8.65Г | |
| 4 | КУ.51.11.240(-01) | Кронштейн | |
| 5 | ШайбаС.14х2.02 | Шайба | |
| 6 | Шплинт3,2х32 | Шплинт | |
| 7 | КУ.51.11.230(-01) | Рычаг | |
| 8 | КУ.51.11.207 | Шпилька | |
| 9 | 13.01.12.002 | Кнопка | |
| 10 | КУ.51.11.220 | Кронштейн | |
| 11 | БолтМ8х20 | Болт | |
| 12 | Ручка | Ручка | |
| 13 | ВинтВМ6х50 | Винт | |
| 14 | ГайкаМ10 | Гайка М10 | |
| 15 | Замок | Замок | |
| 16 | КУ.51.11.208 | Скоба | |
| 17 | БолтМ8х40 | Болт М8х40 | |
| 18 | ГайкаМ8 | Гайка М8 | |
| 19 | ГайкаМ6 | Гайка | |
| 20 | КУ.51.11.142 | Винт | |
| 21 | КУ.51.11.219(-01) | Пружина |