Товары
Каталог запчастей
Личный кабинет
Авторизация
Портал для заказа запасных частей
В товарах
В каталоге запчастей
Внимание!!! Сайт только для тестирования.
Каталоги запчастей к технике UMG
Брянский Арсенал
ГС-10.01
258.19.00.00.000 Установка датчиков на двигателе
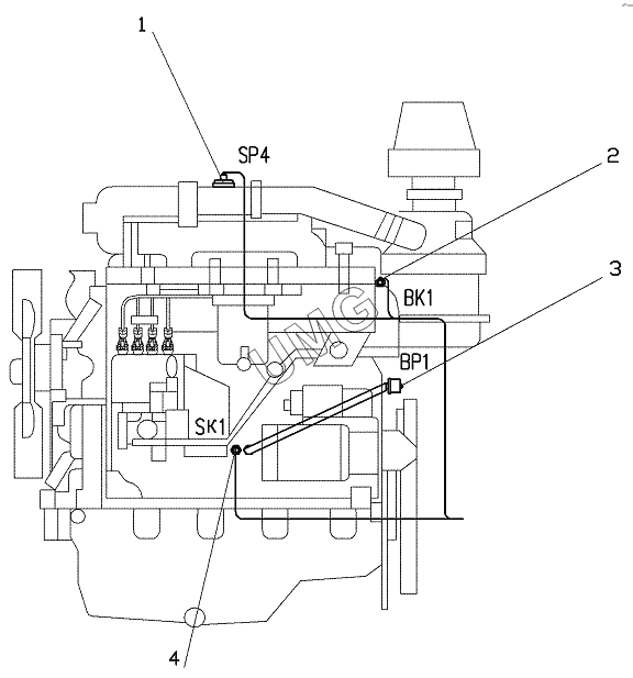
ГС-10.01. 258.19.00.00.000 Установка датчиков на двигателе
zoom-in
zoom-out
enlarge
shrink
circle-right
circle-left
file-text2
info
cart
1
2
3
4
Позиция на иллюстрации
Заводской номер детали
Название детали
1
131.3839600
Датчик сигнализатора засоренности воздушного фильтра 131.3839600
2
ТМ100-В
Датчик ТМ 100-В
3
18.3829010
Датчик 18.3829010
4
2602.3829010
Датчик сигнализатора давления 2602.3829010
Дополнительная информация
×
Название:
Номер:
Примечание:
АвтоКаталог-онлайн предоставлен
Компанией АвтоСофт