В товарах В каталоге запчастей

ГС-10.01. Тормоз ручной 258.18.02.08.000

zoom-in zoom-out enlarge shrink circle-right circle-left file-text2 info cart
1
2
3
4
5
6
7
8
9
10
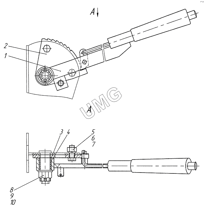
Позиция на иллюстрации Заводской номер детали Название детали
1 258.18.02.08.100 Тормоз ручной
2 258.18.02.08.001 Сектор
3 258.18.02.08.002 Прокладка
4 225.04.03.09.001 Втулка
5 БолтМ10х25 Болт М10х25
6 ГайкаМ10 Гайка М10
7 Шайба1065Г Шайба 10 65Г
8 Гайка2М16 Гайка 2М16
9 ШайбаС.16 Шайба С.16
10 Шплинт4х36 Шплинт 4х36
АвтоКаталог-онлайн предоставлен Компанией АвтоСофт