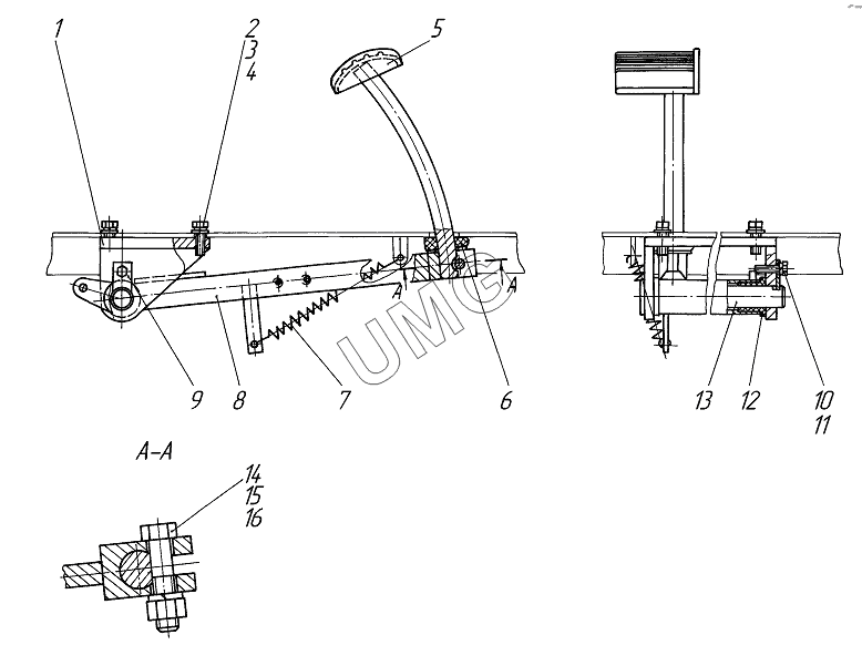
ГС-10.01. Установка педали тормозов 258.18.02.05.000
1
2
3
4
5
6
7
8
9
10
11
12
13
14
15
16
| Позиция на иллюстрации | Заводской номер детали | Название детали | |
|---|---|---|---|
| 1 | 237.04.01.02.200 | Проушина | |
| 2 | БолтМ10х30 | Болт М10х30 | |
| 3 | Шайба1065Г | Шайба 10 65Г | |
| 4 | ШайбаС.10 | Шайба С.10 | |
| 5 | 274.04.02.07.200-01 | Педаль | |
| 6 | 225.44.03.03.003 | Прокладка | |
| 7 | 225.04.03.00003 | Пружина | |
| 8 | 258.18.02.05.100 | Рычаг | |
| 9 | 237.04.01.02.002 | Фиксатор | |
| 10 | БолтМ8х30 | Болт М8х30 | |
| 11 | Шайба8.65Г | Шайба 8.65Г | |
| 12 | О.860.1018 | Втулка | |
| 13 | 237.04.01.02.001 | Ось | |
| 14 | БолтМ12х50 | Болт М12х50 | |
| 15 | ГайкаМ12 | Гайка М12 | |
| 16 | Шайба1265Г | Шайба 12 65Г |