В товарах В каталоге запчастей

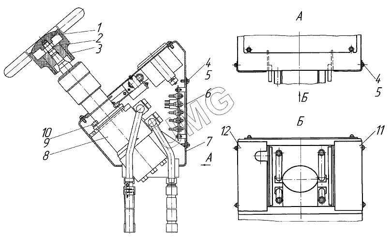
ГС-10.01. Управление рулевое 258.18.02.01.200

zoom-in zoom-out enlarge shrink circle-right circle-left file-text2 info cart
2
3
4
4
5
5
6
7
7
8
9
10
11
12
Позиция на иллюстрации Заводской номер детали Название детали
1 4301-3721018 Накладка декоративная
2 ГайкаМ16х1,5 Гайка М16х1,5
3 4301-3402015 Рулевое колесо
4 ВинтВМ6х16 Винт ВМ6х16
5 ШайбаС.6х1,4 Шайба С.6х1,4
6 258.18.02.01.220 Крышка
7 255.04.04.02.120 Корпус
8 258.18.02.01.210 Блок управления
9 БолтМ10х25 Болт М10х25
10 Шайба1065Г Шайба 10 65Г
11 258.18.02.01.201 Крышка
12 255.04.04.02.101-01 Крышка
АвтоКаталог-онлайн предоставлен Компанией АвтоСофт