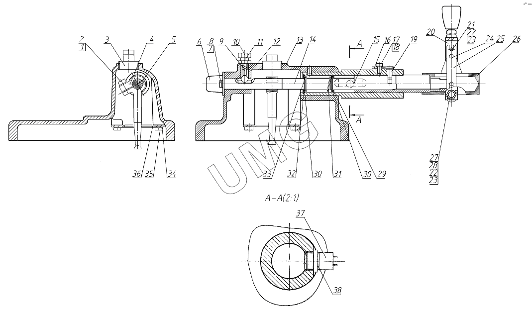
ГС-10.01. Доработка механизма переключения КПП 258.03.07.00.000
1
2
3
4
5
6
7
8
9
10
11
12
13
14
15
16
17
18
19
20
21
22
22
23
23
24
25
26
27
28
29
30
30
31
32
33
34
35
36
37
38
| Позиция на иллюстрации | Заводской номер детали | Название детали | |
|---|---|---|---|
| 1 | Шайба | Шайба | |
| 2 | Болт | Болт | |
| 3 | Пробка | Пробка | |
| 4 | Толкатель | Толкатель | |
| 5 | Шпонка | Шпонка | |
| 6 | 258.03.07.01.000 | Колпачок | |
| 7 | Шайба10.65Г | Шайба10.65Г | |
| 8 | БолтМ10х25 | Болт М10х25 | |
| 9 | Пружина | Пружина | |
| 10 | Болт | Болт | |
| 11 | Гайка | Гайка | |
| 12 | Шарик | Шарик | |
| 13 | 258.03.07.00.001 | Крышка | |
| 14 | 258.03.07.00.003 | Вал | |
| 15 | 258.03.07.00.002 | Труба | |
| 16 | 258.03.07.00.004 | Планка | |
| 17 | БолтМ8х16 | Болт М8х16 | |
| 18 | Шайба8.65Г | Шайба 8.65Г | |
| 19 | Стопор | Стопор | |
| 20 | 258.03.07.02.000 | Ручка | |
| 21 | 258.03.07.00.011 | Палец | |
| 22 | ШайбаС.8 | Шайба С.8 | |
| 23 | Шплинт2,5х25 | Шплинт 2,5х25 | |
| 24 | Штифт | Штифт | |
| 25 | Рычаг | Рычаг | |
| 26 | Корпус | Корпус | |
| 27 | 258.03.07.00.010 | Палец | |
| 28 | ГайкаМ8 | Гайка М8 | |
| 29 | КольцоВ25 | Кольцо В25 | |
| 30 | 258.03.07.00.005 | Шайба | |
| 31 | Пружина | Пружина | |
| 32 | КольцоВ37 | Кольцо В37 | |
| 33 | Штифт8х16 | Штифт 8х16 | |
| 34 | Пластина | Стопорная пластина | |
| 35 | Болт | Болт | |
| 36 | Диафрагма | Диафрагма | |
| 37 | Датчик | Датчик | |
| 38 | 258.03.07.00.006 | Прокладка |