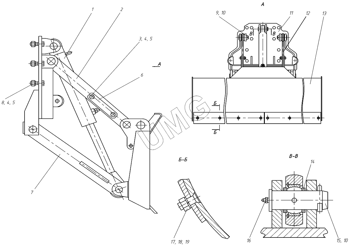
ГС-10.01. Отвал передний 258.15.00.00.000
1
2
3
4
4
5
5
6
7
9
10
10
11
12
13
14
15
16
17
18
19
| Позиция на иллюстрации | Заводской номер детали | Название детали | |
|---|---|---|---|
| 1 | 258.15.05.00.000 | Гидроцилиндр | |
| 2 | 258.15.06.00.000 | Тяга | |
| 3 | БолтМ20х50 | Болт М20х50 | |
| 4 | ГайкаМ20 | Гайка М20 | |
| 5 | Шайба20.65Г | Шайба 20.65Г | |
| 6 | 258.15.00.00.004 | Стяжка | |
| 7 | 258.15.02.00.000 | Рамка | |
| 8 | БолтМ20х75 | Болт М20х75 | |
| 9 | 0.804.1088-02 | Ось | |
| 10 | Шплинт8х80 | Шплинт 8х80 | |
| 11 | 258.15.03.00.000 | Плита опорная | |
| 12 | 258.15.04.00.000 | Тяга | |
| 13 | 258.15.01.00.000 | Отвал | |
| 14 | 258.15.00.00.003 | Втулка | |
| 15 | 258.15.00.00.002 | Ось | |
| 16 | Масленка1.3.Ц6 | Масленка 1.3.Ц6 | |
| 17 | 225.07.04.00.001-02 | Болт | |
| 18 | ГайкаМ16 | Гайка М16 | |
| 19 | Шайба16.65Г | Шайба16.65Г |