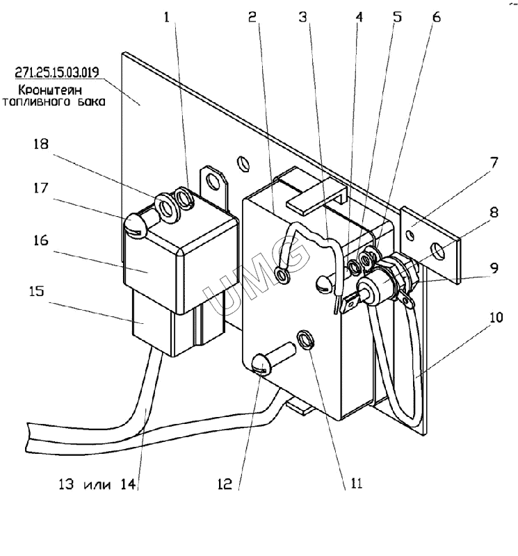
ГС-14.02. Электрооборудование 250.09.00.00.000
271.25.15.03.019
1
2
3
4
5
6
7
8
9
10
11
12
13
14
15
16
17
18
| Позиция на иллюстрации | Заводской номер детали | Название детали | |
|---|---|---|---|
| 271.25.15.03.019 | 271.25.15.03.019 | Кронштейн топливного бака | |
| 1 | Шайба 6 65Г | Шайба 6 65Г | |
| 2 | 111.3722 | Блок предохранителей 111.3722 | |
| 3 | 276.09.23.00.000 | Провод | |
| 4 | Винт В.М 4х12 | Винт В.М 4х12 | |
| 5 | Шайба 4 65Г | Шайба 4 65Г | |
| 6 | Шайба С4 | Шайба С4 | |
| 7 | 248.09.00.00.001 | Плата | |
| 8 | Диод Д222-32-6 | Диод Д222-32-6 | |
| 9 | Гайка М6 | Гайка М6 | |
| 10 | 274.09.24.00.000 | Провод "массы" диода | |
| 11 | Шайба 5 65Г | Шайба 5 65Г | |
| 12 | Винт В.М 5х16 | Винт В.М 5х16 | |
| 13 | 250.09.06.00.000 | Жгут 3 | |
| 14 | 250.49.02.00.000 | Жгут 3 | |
| 15 | Колодка 469.59.00-00 | Колодка 469.59.00-00 | |
| 16 | Реле 738.3747-20 | Реле 738.3747-20 | |
| 17 | Винт В.М 6х10 | Винт В.М 6х10 | |
| 18 | Шайба С6х1,4 | Шайба С6х1,4 |