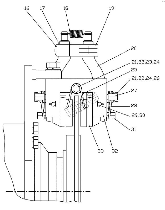
ГС-14.02. Тормоз стояночный 241.17.02.00.000
16
17
18
19
20
21
21
22
22
23
24
24
25
26
27
28
29
30
31
32
33
| Позиция на иллюстрации | Заводской номер детали | Название детали | |
|---|---|---|---|
| 16 | 241.17.02.00.016 | Ролик | |
| 17 | В20 | Кольцо В20 | |
| 18 | 241.17.02.00.012 | Пружина | |
| 19 | 241.17.02.00.019 | Рычаг | |
| 20 | 241.17.02.00.002 | Рычаг | |
| 21 | 241.17.02.00.020 | Втулка | |
| 22 | Болт M8-6gх30.46.016 | Болт M8-6gх30.46.016 | |
| 23 | Шайба С.8х1,4.02.Ст3кп.06 | Шайба С.8х1,4.02.Ст3кп.06 | |
| 24 | Шайба 8 65Г 06 | Шайба 8 65Г 06 | |
| 25 | 241.17.02.00.007 | Пружина | |
| 26 | 241.17.02.00.015 | Шайба | |
| 27 | 241.17.02.00.008 | Болт | |
| 28 | 241.17.02.00.013 | Стопор | |
| 29 | 241.17.02.00.014 | Ось | |
| 30 | Шплинт 2,5х16.06 | Шплинт 2,5х16.06 | |
| 31 | 241.17.02.00.006 | Винт | |
| 32 | 241.17.02.00.001 | Суппорт | |
| 33 | 700А.00.2311 | Колодка |