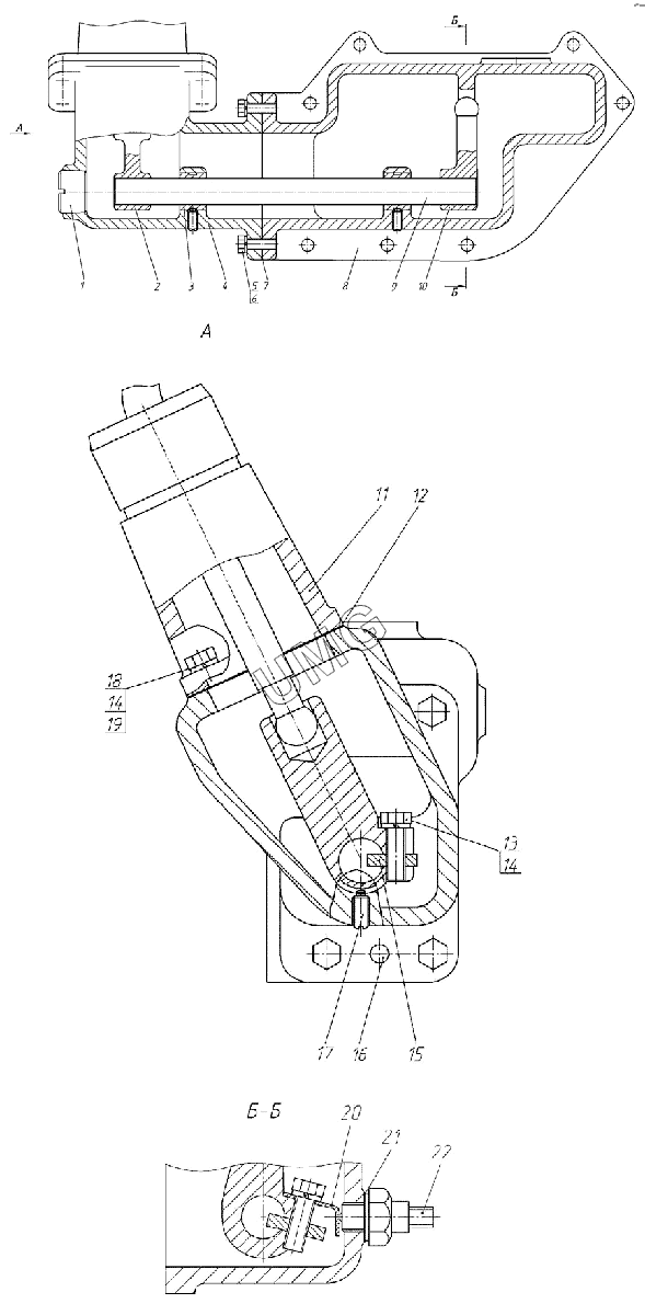
ГС-14.02. Механизм переключения скоростей 240.30.13.01.000
1
2
3
4
5
6
7
8
9
10
11
12
13
14
14
15
16
17
18
19
20
21
22
| Позиция на иллюстрации | Заводской номер детали | Название детали | |
|---|---|---|---|
| 1 | 240.30.13.01.008 | Пробка | |
| 2 | 240.30.13.01.005-01 | Рычаг | |
| 3 | 240.30.13.01.002 | Втулка | |
| 4 | 240.30.13.01.003-01 | Колено | |
| 5 | Болт М12-6gх30.46.06 | Болт М12-6gх30.46.06 | |
| 6 | Шайба 12 65Г 06 | Шайба 12 65Г 06 | |
| 7 | 240.30.13.01.007 | Прокладка | |
| 8 | 240.30.13.01.001 | Корпус | |
| 9 | 240.30.13.01.004 | Валик | |
| 10 | 240.30.13.01.006 | Рычаг | |
| 11 | 240.30.13.01.100-01 | Кулиса | |
| 12 | 240.30.11.00.037 | Прокладка | |
| 13 | Болт М10-6gх30.46.06 | Болт М10-6gх30.46.06 | |
| 14 | Шайба 10 ОТ | Шайба 10 ОТ | |
| 15 | 240.30.13.01.009 | Шпонка | |
| 16 | 240.30.11.00.056 | Штифт | |
| 17 | Винт В.М8-6gх25.14Н.06 | Винт В.М8-6gх25.14Н.06 | |
| 18 | Болт М10-6gх45.46.06 | Болт М10-6gх45.46.06 | |
| 19 | Гайка М10-6Н.5.06 | Гайка М10-6Н.5.06 | |
| 20 | 240.30.13.01.010 | Упор | |
| 21 | 240.30.13.01.011 | Шайба | |
| 22 | ВК-12-3 ЦИКС | Выключатель ВК-12-3 ЦИКС |