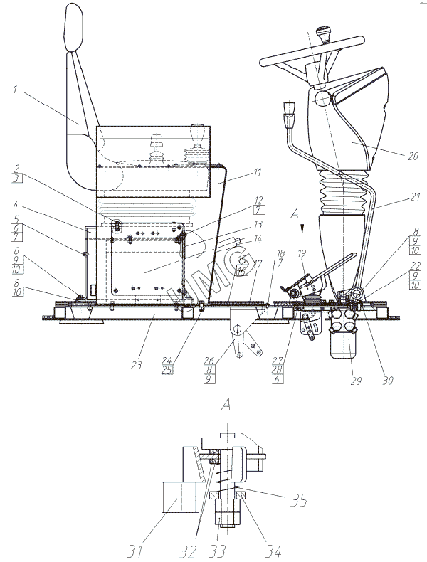
ГС-18.05. Место рабочее 237.04.01.00.000-01
1
2
3
4
5
6
6
7
7
7
8
8
8
8
9
9
9
9
10
10
10
10
11
12
13
14
15
16
17
18
19
20
21
22
23
24
25
26
27
28
29
30
31
32
33
34
35
| Позиция на иллюстрации | Заводской номер детали | Название детали | |
|---|---|---|---|
| 1 | Сиденье | Сиденье | |
| 2 | Болт М8х30 | Болт М8х30 | |
| 3 | Шайба 8 65Г | Шайба 8 65Г | |
| 4 | 274.04.02.09.000 | Опора | |
| 5 | Болт М6х12 | Болт М6х12 | |
| 6 | Шайба 6 65Г | Шайба 6 65Г | |
| 7 | Шайба С.6 | Шайба С.6 | |
| 8 | Болт М10х25 | Болт М10х25 | |
| 9 | Шайба 10 65Г | Шайба 10 65Г | |
| 10 | Шайба С.10 | Шайба С.10 | |
| 11 | 237.04.01.04.000-02 | Пульт | |
| 12 | Винт ВМ6х16 | Винт ВМ6х16 | |
| 13 | 274.04.02.00.003 | Пластина | |
| 14 | 237.04.01.03.000 | Тормоз ручной | |
| 15 | 237.04.01.00.002-01 | Коврик | |
| 16 | 237.04.01.00.003-01 | Коврик | |
| 17 | 237.04.01.00.001 | Крышка | |
| 18 | Винт ВМ6х10 | Винт ВМ6х10 | |
| 19 | 257.04.07.00.000 | Доработка педали газа | |
| 20 | 721.04.02.00.000 | Колонка рулевая | |
| 21 | 257.04.06.00.000 | Установка рычагов | |
| 22 | Болт М10х30 | Болт М10х30 | |
| 23 | 237.04.01.01.000-01 | Каркас площадки | |
| 24 | Болт М12х30 | Болт М12х30 | |
| 25 | Шайба 12 65Г | Шайба 12 65Г | |
| 26 | 237.04.01.02.000 | Установка педали сцепления | |
| 27 | Болт М6х20 | Болт М6х20 | |
| 28 | Гайка М6 | Гайка М6 | |
| 29 | 257.04.05.00.000-01 | Насос-дозатор | |
| 30 | 257.04.00.00.004 | Прокладка | |
| 31 | 271.04.02..04.000 | Фиксатор | |
| 32 | 225.04.03.07.001 | Кольцо фрикционное | |
| 33 | Гайка М12 | Гайка М12 | |
| 34 | 225.04.03.07.701 | Втулка | |
| 35 | 225.04.03.07.002 | Пружина |