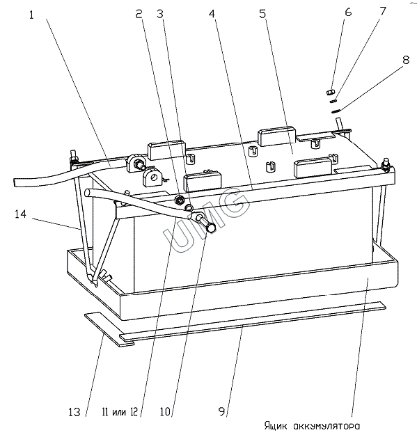
ГС-18.05. Установка аккумулятора 255.29.29.00.000
1
2
3
4
5
6
7
8
9
10
11
12
13
14
| Позиция на иллюстрации | Заводской номер детали | Название детали | |
|---|---|---|---|
| 1 | 751.09.22.00.000 | Провод "массы" | |
| 2 | Гайка M10 | Гайка M10 | |
| 3 | Шайба 10 65Г | Шайба 10 65Г | |
| 4 | 255.29.29.00.001 | Уголок | |
| 5 | Батарея 6СТ-190А | Батарея 6СТ-190А | |
| 6 | Гайка M8 | Гайка M8 | |
| 7 | Шайба 8.65Г | Шайба 8.65Г | |
| 8 | Шайба С8х1,4 | Шайба С8х1,4 | |
| 9 | 281.09.41.00.002 | Прокладка | |
| 10 | Болт М10х45 | Болт М10х45 | |
| 11 | 751.09.21.00.000 | Провод | |
| 12 | 751.09.20.00.000 | Провод стартера | |
| 13 | 281.09.41.00.001 | Прокладка | |
| 14 | 255.29.29.00.002 | Стяжка |