В товарах В каталоге запчастей

ГС-18.05. Муфта выключения сцепления 237.03.06.00.000

zoom-in zoom-out enlarge shrink circle-right circle-left file-text2 info cart
1
2
3
4
5
6
7
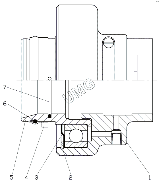
Позиция на иллюстрации Заводской номер детали Название детали
1 172.21.120 Корпус муфты
2 182.160.1197 Кольцо стопорное
3 182.160.1195 Шайба отражательная
4 182.160.1183 Кольцо предохранительное
5 182.160.1178 Втулка с подшипником
6 182.160.1199-01 Кольцо замковое
7 182.160.1198-10 Кольцо
АвтоКаталог-онлайн предоставлен Компанией АвтоСофт