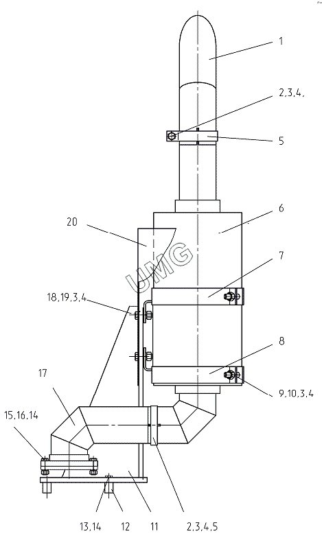
ГС-18.05. Установка глушителя 237.02.03.00.000
1
2
2
3
3
3
3
4
4
4
4
5
5
6
7
8
9
10
11
12
13
14
14
16
17
18
19
20
| Позиция на иллюстрации | Заводской номер детали | Название детали | |
|---|---|---|---|
| 1 | 286.02.04.02.000 | Труба | |
| 2 | Болт М12х40 | Болт М12х40 | |
| 3 | Гайка М12 | Гайка М12 | |
| 4 | Шайба 12.65Г | Шайба 12.65Г | |
| 5 | 286.02.03.00.002 | Хомут | |
| 6 | 237.02.03.04.000 | Глушитель | |
| 7 | 260.02.05.03.000 | Кронштейн | |
| 8 | 260.02.05.02.000 | Кронштейн | |
| 9 | 225.02.05.00.006 | Полухомут | |
| 10 | Болт М12х50 | Болт М12х50 | |
| 11 | 237.02.03.05.000 | Кронштейн | |
| 12 | 237.02.03.00.001 | Втулка | |
| 13 | Болт М10х90 | Болт М10х90 | |
| 14 | Шайба 10.65Г | Шайба 10.65Г | |
| 15 | Болт М10х50 | Болт М10х50 | |
| 16 | Гайка М10 | Гайка М10 | |
| 17 | 237.02.03.03.000 | Патрубок | |
| 18 | Болт М12х30 | Болт М12х30 | |
| 19 | Шайба С12.02 | Шайба С12.02 | |
| 20 | 237.02.03.00.005 | Экран |