ДЗ-250 (ГМП). Рама тяговая с отвалом (ДЗ-98.34.00.000-01)
1
2
2
3
4
5
6
7
7
7
8
9
10
11
12
13
14
15
16
17
18
19
20
21
22
23
24
25
25
26
27
28
29
30
31
32
33
34
35
35
36
37
38
39
40
40
41
41
42
43
44
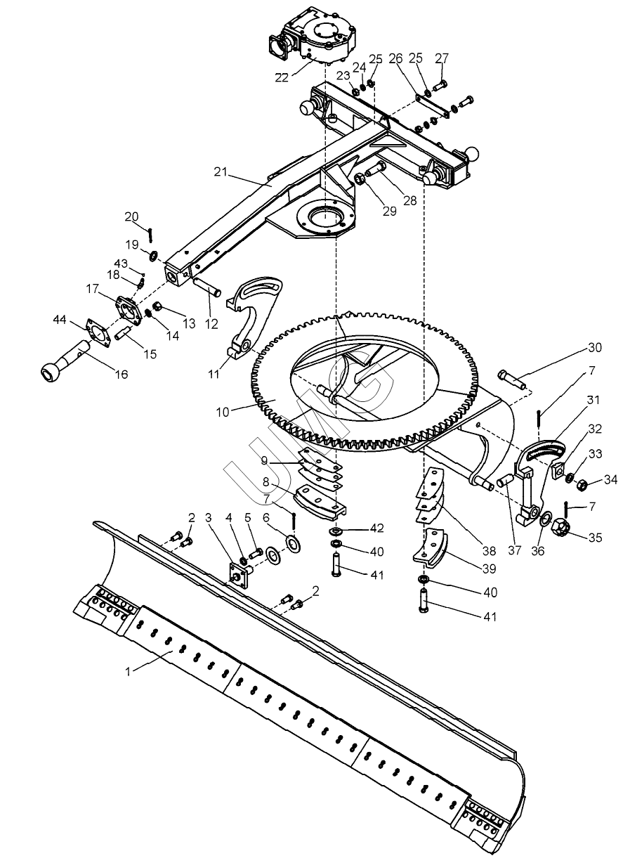
| Позиция на иллюстрации | Заводской номер детали | Название детали | |
|---|---|---|---|
| Болт М20-6gx40.58.019 | Болт М20-6gx40.58.019 | Болт М20-6gx40.58.019 | |
| 1 | ДЗ-98В.34.00.400 | Отвал | |
| 2 | ДЗ-98Д.34.00.011 | Пробка | |
| 3 | ДЗ-98Д.34.05.000 | Опора штока | |
| 4 | Шайба 20.65Г.069 | Шайба 20.65Г.069 | |
| 5 | Болт М20-6gx55.58.019 | Болт М20-6gx55.58.019 | |
| 6 | 067.14.12.131 | Шайба | |
| 7 | Шплинт 8х71.019 | Шплинт 8х71.019 | |
| 8 | Д395Б-34-016 | Накладка | |
| 9 | Д395Б-34-018 | Прокладка | |
| 10 | Д395Б-34-090 | Круг поворотный | |
| 11 | Д395Б-34-077 | Кронштейн правый | |
| 12 | ПКТ-0300-0006 | Палец | |
| 13 | Гайка М24-6Н.5.019 | Гайка М24-6Н.5.019 | |
| 14 | Шайба 24.65Г.069 | Шайба 24.65Г.069 | |
| 15 | Д395Б-34-081 | Шпилька специальная | |
| 16 | ДЗ-98.34.00.024 | Шкворень | |
| 17 | Д395Б-34-044 | Опора шкворня | |
| 18 | Масленка 2.2.45.Ц6 | Масленка 2.2.45.Ц6 | |
| 19 | Д395Б-34-076 | Кольцо | |
| 20 | Шплинт 5х40.019 | Шплинт 5х40.019 | |
| 21 | ДЗ-98.34.00.100 | Рама тяговая | |
| 22 | ДЗ-98.29.00.000 | Редуктор поворота отвала | |
| 23 | Гайка М20-6Н.5.019(S30) | Гайка М20-6Н.5.019(S30) | |
| 24 | Шайба 20.65Г.069 | Шайба 20.65Г.069 | |
| 25 | Шайба С20.02.019 | Шайба С20.02.019 | |
| 26 | В138.25.00.003-01 | Тяга | |
| 27 | Болт М20-6gx55.58.019(S30) | Болт М20-6gx55.58.019(S30) | |
| 28 | Д395-0601014 | Болт | |
| 29 | Гайка М30-6Н.5.019 | Гайка М30-6Н.5.019 | |
| 30 | Д395Б-34-091 | Болт | |
| 31 | Д395Б-34-120 | Кронштейн левый | |
| 32 | Д144-3-05 | Шайба специальная | |
| 33 | Шайба 30.65Г.069 | Шайба 30.65Г.069 | |
| 34 | Д395Б-34-092 | Гайка | |
| 35 | 067.13.12.099 | Гайка | |
| 35 | 067.13.12.099-01 | Гайка | |
| 36 | 067.14.11.094 | Шайба | |
| 37 | Д395Б-34-039 | Палец | |
| 38 | Д394-0601015 | Прокладка | |
| 39 | Д394-0601011 | Накладка | |
| 40 | Шайба 27.65Г.069 | Шайба 27.65Г.069 | |
| 41 | Д395Б-34-079 | Болт | |
| 42 | Д394-0601023 | Шайба | |
| 43 | 24-2904142 | Колпачок пресс-масленки | |
| 44 | ДЗ-98Д.34.00.019 | Прокладка регулировочная |