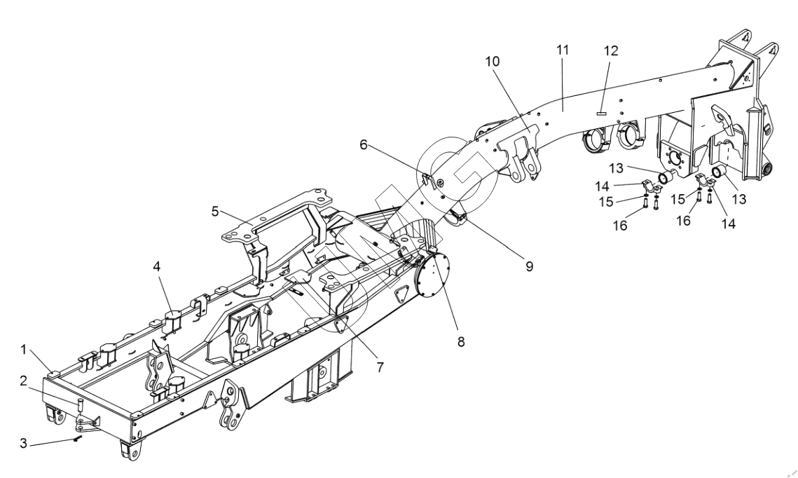
ДЗ-250 (ГМП). Рама в сборе (25001.21.00.000)
1
2
3
4
5
6
7
8
9
10
11
12
13
13
14
14
15
15
16
16
| Позиция на иллюстрации | Заводской номер детали | Название детали | |
|---|---|---|---|
| 1 | 25001.21.52.000 | Установка опор системы доступа | |
| 2 | А120.34.00.036-01 | Палец | |
| 3 | Шплинт пружинный 6,3х97.А4 DIN 11024 D | Шплинт пружинный 6,3х97.А4 DIN 11024 D | |
| 4 | 25001.21.11.000 | Установка опор силовой установки | |
| 5 | 25001.21.51.000 | Установка опор кабины | |
| 6 | ДЗ-98Н1.21.43.010 | Приварка бонок и кронштейнов под пневматику и гидравлику | |
| 7 | ДЗ-98Н1.21.43.020 | Приварка кронштейнов под пневматику и гидравлику | |
| 8 | TA80B10А102 | Горловина заливная | |
| 9 | ДЗ-98Н1.21.16.110 | Установка опор карданной передачи | |
| 10 | ДЗ-98Н1.21.30.100 | Установка опор подвески тяговой рамы | |
| 11 | 25001.21.00.200 | Каркас рамы | |
| 12 | 25001.21.41.000 | Приварка бонок и петель для электрооборудования | |
| 13 | ПА-010.02.00.001-01 | Втулка | |
| 14 | ДЗ-98Б.21.00.052 | Крышка | |
| 15 | Шайба 24 65Г 019 | Шайба 24 65Г 019 | |
| 16 | Болт M24-6gx75.58.019 | Болт M24-6gx75.58.019 |