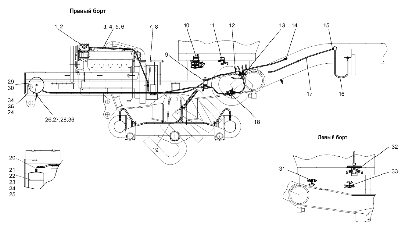
ДЗ-98В. Система пневматическая (ДЗ-98М2.42.10.000);Pneumatic system
1
2
3
4
5
6
7
8
9
10
11
12
13
14
15
16
17
18
19
20
21
22
23
24
24
25
26
27
28
29
30
31
32
33
34
35
36
| Позиция на иллюстрации | Заводской номер детали | Название детали | |
|---|---|---|---|
| 1 | ДЗ-98В4.42.10.000 | Установка компрессора | |
| 2 | Угольник ввертный 18х18 компрессора 2-х цилиндр | Угольник ввертный 18х18 компрессора 2-х цилиндр | |
| 3 | ДЗ-98А.42.00.102-06 | Трубка | |
| 4 | Втулка | Втулка | |
| 5 | Муфта D12 медная техническая | Муфта D12 медная техническая | |
| 6 | Гайка накидная М18х1.5 тормоз трубки D12 | Гайка накидная М18х1.5 тормоз трубки D12 | |
| 7 | 067.36.11.571-02 | Хомут | |
| 8 | ДЗ-98В9.31.00.008 | Прокладка | |
| 9 | ДЗ-98М2.42.10.020 | Противозамерзатель | |
| 10 | ДЗ-98М2.42.10.070 | Тормозной кран | |
| 11 | ДЗ-98М2.42.10.050 | Кнопка пневмозащелки | |
| 12 | Тройник 9540 12 | Тройник 9540 12 | |
| 13 | ДЗ-98М2.42.10.030 | Двойной защитный клапан | |
| 14 | Фитинг угловой 9502 12-М16х1.5 | Фитинг угловой 9502 12-М16х1.5 | |
| 15 | Фитинг прямой 9512 12-М12х1.5 | Фитинг прямой 9512 12-М12х1.5 | |
| 16 | РНД 10-4.4-1070-0,08-54/54-М18x1,5/М18x1,5-У1-СП | РНД 10-4.4-1070-0,08-54/54-М18x1,5/М18x1,5-У1-СП | |
| 17 | Трубка | Трубка | |
| 18 | ДЗ-98М2.42.10.010 | Регулятор давления | |
| 19 | ДЗ-98М2.42.10.080 | Пневморазводка мостов | |
| 20 | Фитинг угловой 9502 12-М22х1.5 | Фитинг угловой 9502 12-М22х1.5 | |
| 21 | ДЗ-98М2.42.00.013 | Хомут | |
| 22 | Болт М10-6gx40.58.019 | Болт М10-6gx40.58.019 | |
| 23 | Гайка М10-6Н.5.019 | Гайка М10-6Н.5.019 | |
| 24 | Шайба 10.65Г.069 | Шайба 10.65Г.069 | |
| 25 | Шайба C10.02.019 | Шайба | |
| 26 | 067.34.13.041 | Прокладка | |
| 27 | ДЗ-98М2.42.00.001 | Штуцер | |
| 28 | 2201С28-Б | Краник проходной | |
| 29 | D2612 М22х1.5 | Заглушка | |
| 30 | А40-280 6303-35305-10 105.068.17.000-02 | Рессивер | |
| 31 | ДЗ-98М2.42.10.060 | Клапан двухмагистральный | |
| 32 | ДЗ-98М2.42.10.040 | Аварийный тормоз | |
| 33 | ДЗ-98М2.42.10.090 | Клапан двухмагистральный | |
| 34 | ДЗ-98М1.21.02.500 | Кронштейн ресивера | |
| 35 | Болт М10-6gx20.58.019 | Болт М10-6gx20.58.019 | |
| 36 | Д395А-0402272 | Штуцер |