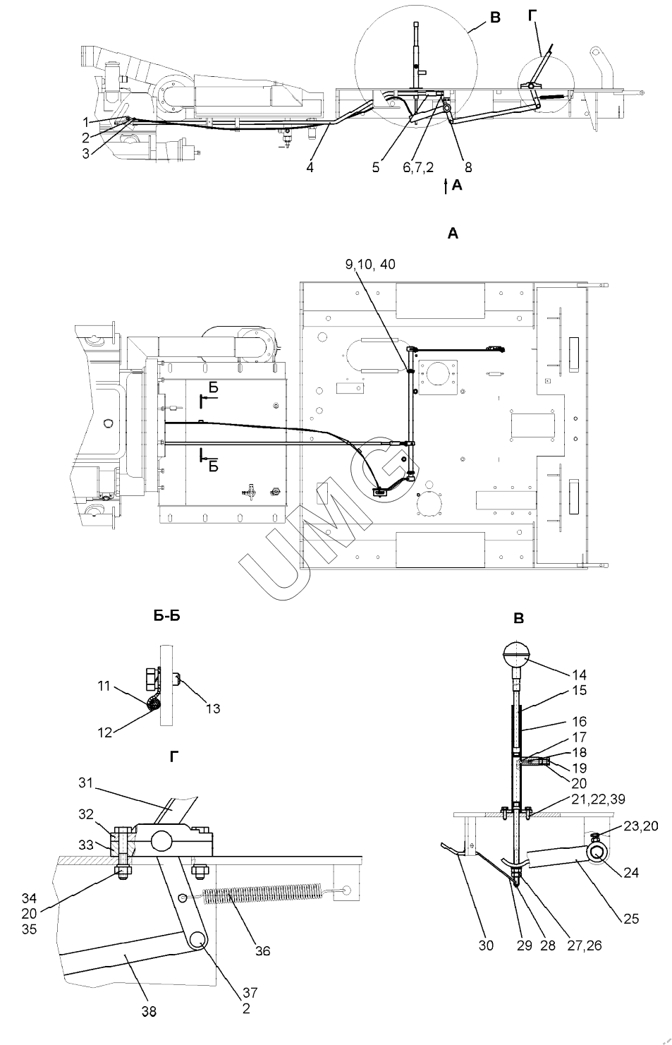
ДЗ-98В. Система управления регулятором (ДЗ-98М2.13.05.000);Fully-variable regulator control system
1
2
2
2
3
4
5
6
7
8
9
10
11
12
13
14
15
16
17
18
19
20
20
20
21
22
23
24
25
26
27
28
29
30
31
32
33
34
35
36
37
38
39
40
| Позиция на иллюстрации | Заводской номер детали | Название детали | |
|---|---|---|---|
| 1 | Шайба C12.02.019 | Шайба C12.02.019 | |
| 2 | Шплинт 2х20.019 | Шплинт 2х20.019 | |
| 3 | А121.13.05.006 | Кольцо | |
| 4 | ДЗ-98М2.13.05.020 | Тяга | |
| 5 | ДЗ-98В.39.01.007 | Вилка | |
| 6 | 067.43.11.034 | Палец | |
| 7 | Шайба C.8x6.02.019 | Шайба C.8x6.02.019 | |
| 8 | ДЗ-98М2.13.05.160 | Рычаг | |
| 9 | Шайба C20.02.019 | Шайба C20.02.019 | |
| 10 | Шплинт 5х50.019 | Шплинт 5х50.019 | |
| 11 | 067.37.11.031 | Скоба | |
| 12 | А121.13.05.005 | Пластина | |
| 13 | Болт М8-6gх16.58.019 (S13) | Болт М8-6gх16.58.019 (S13) | |
| 14 | 1105-40М12 | Ручка шаровая | |
| 15 | ДЗ-98В1.39.02.240 | Тяга | |
| 16 | ДЗ-98.13.05.100 | Колонка в сборе | |
| 17 | Шарик 6-60±25 | Шарик 6-60±25 | |
| 18 | ДЗ-98.13.05.006 | Пружина | |
| 19 | Болт М8-6gх30.58.019 (S13) | Болт М8-6gх30.58.019 (S13) | |
| 20 | Гайка М8-6Н.5.019 (S13) | Гайка М8-6Н.5.019 (S13) | |
| 21 | Болт М6-6gх20.58.019 (S10) | Болт М6-6gх20.58.019 (S10) | |
| 22 | Шайба 6.65Г.019 | Шайба 6.65Г.019 | |
| 23 | Болт М8-6gх25.58.019 (S13) | Болт М8-6gх25.58.019 (S13) | |
| 24 | ДЗ-98М2.13.05.006 | Вал | |
| 25 | ДЗ-98М2.13.05.030-01 | Рычаг | |
| 26 | Гайка М10-6Н.5.019 (S16) | Гайка М10-6Н.5.019 (S16) | |
| 27 | Шайба C10.02.019 | Шайба | |
| 28 | Винт В.М4-6gх10.58.019 | Винт В.М4-6gх10.58.019 | |
| 29 | А121.13.05.003 | Канат | |
| 30 | А121.13.05.004 | Оплетка | |
| 31 | А120.13.05.030 | Педаль | |
| 32 | Д395-0306038 | Крышка | |
| 33 | Д395-0306037 | Корпус | |
| 34 | Болт М8-6gх45.58.019 (S13) | Болт М8-6gх45.58.019 (S13) | |
| 35 | Шайба 8.65Г.019 | Шайба 8.65Г.019 | |
| 36 | 067.52.00.022 | Пружина | |
| 37 | 067.43.11.029 | Палец | |
| 38 | ДЗ-98М2.13.05.003 | Тяга | |
| 39 | Гайка М6-6Н.5.019 (S10) | Гайка М6-6Н.5.019 (S10) | |
| 40 | ДЗ-98М2.13.05.007 | Втулка |