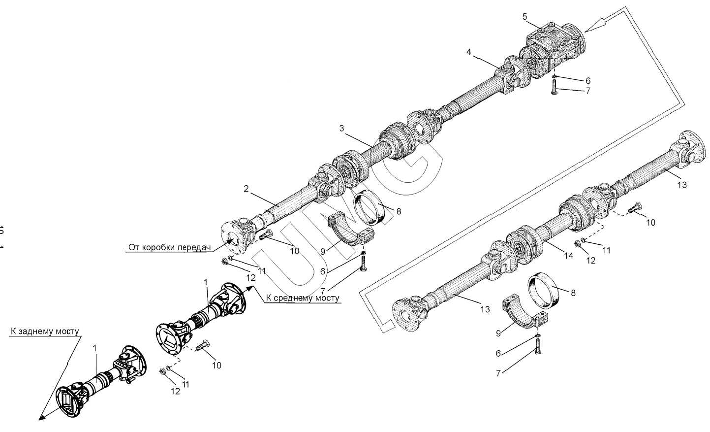
ДЗ-98В. Передача карданная (ДЗ-98.16.00.000);Universal-joint drive
1
1
2
3
4
5
6
6
6
7
7
7
8
8
9
9
10
10
10
11
11
11
12
12
12
13
13
14
14
| Позиция на иллюстрации | Заводской номер детали | Название детали | |
|---|---|---|---|
| 1 | Д395А-0115000 | Вал карданный | |
| 2 | 210-2201010-19 | Вал карданный | |
| 3 | ДЗ-98.16.01.200 | Вал промежуточный | |
| 4 | 529И-2201010-04 | Вал карданный | |
| 5 | ДЗ-98.16.01.210 | Опора промежуточная | |
| 6 | Шайба 16.65Г.019 | Шайба 16.65Г.019 | |
| 7 | Болт М16-6gх85.56.019 | Болт М16-6gх85.56.019 | |
| 8 | Д395А-0116012 | Прокладка | |
| 9 | Д395-0116020 | Крышка | |
| 10 | Д395-0116016 | Болт карданный | |
| 11 | Шайба 10.65Г.019 | Шайба 10.65Г.019 | |
| 12 | Д395-0116017 | Гайка | |
| 13 | 210Г-2204010-19 | Вал карданный | |
| 14 | ДЗ-98.16.01.050 | Вал промежуточный | |
| 14 | ДЗ-98.16.01.320 | Вал промежуточный |