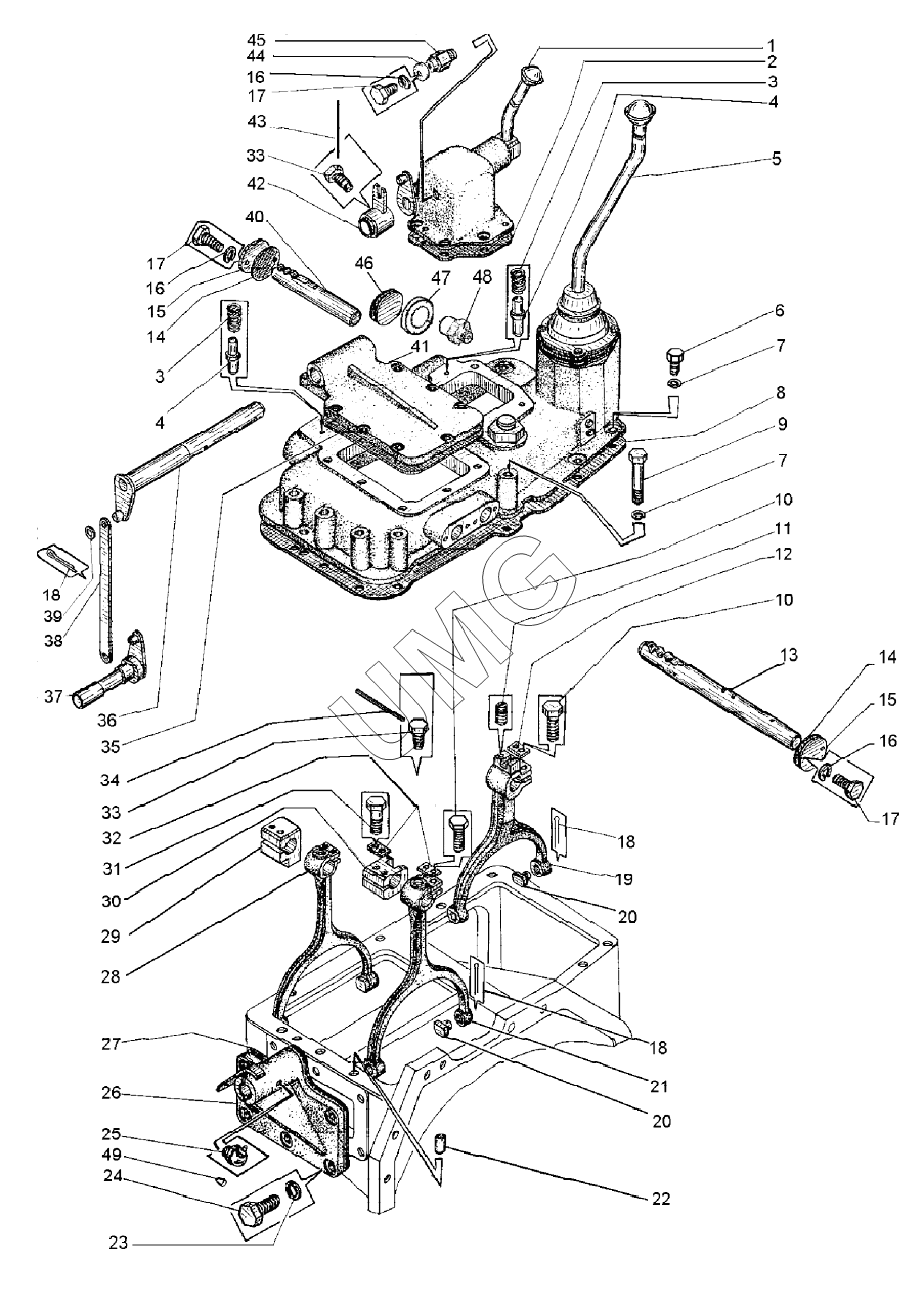
ДЗ-98В. Коробка передач (ДЗ-98.10.04.000);Gearbox
1
2
3
3
4
4
5
6
7
7
8
9
10
10
11
12
13
14
14
15
15
16
16
16
17
17
17
18
18
18
19
20
20
21
22
23
24
25
26
27
28
29
30
31
32
33
33
34
35
36
37
38
39
40
41
42
43
44
45
46
47
48
49
| Позиция на иллюстрации | Заводской номер детали | Название детали | |
|---|---|---|---|
| 1 | Д395В. 10.04.050 | Механизм переключения реверса | |
| 2 | Д395В.10.04.028-1 | Прокладка | |
| 3 | ДЗ-98.10.04.062 | Пружина | |
| 4 | Д395В.10.04.015 | Фиксатор | |
| 5 | Д395В.10.04.010 | Механизм переключения передач | |
| 6 | Болт М10-6gх30.58.019 | Болт М10-6gх30.58.019 | |
| 7 | Шайба 10.65Г.069 | Шайба 10.65Г.069 | |
| 8 | Д395Б.04.104 | Прокладка | |
| 9 | Болт М10х90.58.019 | Болт М10х90.58.019 | |
| 10 | Болт М12-6gх35.58.019 | Болт М12-6gх35.58.019 | |
| 11 | Винт М10-8gх20.22Н.019 | Винт М10-8gх20.22Н.019 | |
| 12 | 067.33.12.143 | Планка | |
| 13 | ДЗ-98.10.04.135 | Валик | |
| 14 | Д144-43-030 | Прокладка | |
| 15 | Д144-43-029 | Крышка | |
| 16 | Шайба 8.65Г.069 | Шайба 8.65Г.069 | |
| 17 | Болт М8-6gх50.56.019 | Болт М8-6gх50.56.019 | |
| 18 | Шплинт 2х20 | Шплинт 2х20 | |
| 19 | Д395В.10.04.019-1 | Вилка | |
| 20 | Д395Б.04.071 | Сухарик | |
| 21 | Д395В.10.04.021 | Вилка | |
| 22 | Д144-40-037 | Штифт | |
| 23 | Шайба 12.65Г.069 | Шайба 12.65Г.069 | |
| 24 | Болт М12-6gх30.58.019 | Болт М12-6gх30.58.019 | |
| 25 | Масленка 2.3.45.Ц6 | Масленка 2.3.45.Ц6 | |
| 26 | Д395В.10.04.130 | Кронштейн в сборе | |
| 27 | Д395Б.04.154 | Прокладка | |
| 28 | Д395В.10.04.100 | Вилка в сборе | |
| 29 | ДЗ-98.10.04.131 | Цанга | |
| 30 | ДЗ-98.10.04.129 | Цанга | |
| 31 | Болт М12-6gх40.58.019 | Болт М12-6gх40.58.019 | |
| 32 | 067.33.12.143 | Планка | |
| 33 | Д395А.0502051 | Винт стопорный | |
| 34 | Проволока 1,6 | Проволока 1,6 | |
| 35 | Д395В.10.04.039 | Прокладка | |
| 36 | ДЗ-98.10.04.360 | Валик в сборе | |
| 37 | Д395В.10.04.160 | Валик | |
| 38 | Д395В.10.04.034 | Тяга | |
| 39 | Шайба С12.02 019 | Шайба С12.02 019 | |
| 40 | Д3-98В1.10.04.228 | Валик | |
| 41 | Д395В.10.04.013-1 | Крышка | |
| 42 | ДЗ-98.10.04.340 | Рычаг | |
| 43 | Проволока 1,6 | Проволока 1,6 | |
| 44 | Д395А.0201.197-3 | Корпус | |
| 45 | Д395А.0201.918-4 | Сапун | |
| 46 | ДЗ-98В1.10.04.229 | Прокладка | |
| 47 | ДЗ-98В1.10.04.232 | Стакан | |
| 48 | ВК-418В | Выключатель | |
| 49 | 24-2904142 | Колпачок пресс-масленки |