В товарах В каталоге запчастей

ДЗ-98В. Рама (ДЗ-98М1.18.00.010;Frame

zoom-in zoom-out enlarge shrink circle-right circle-left file-text2 info cart
1
1
1
1
1
2
2
2
2
2
3
3
3
3
3
4
5
6
7
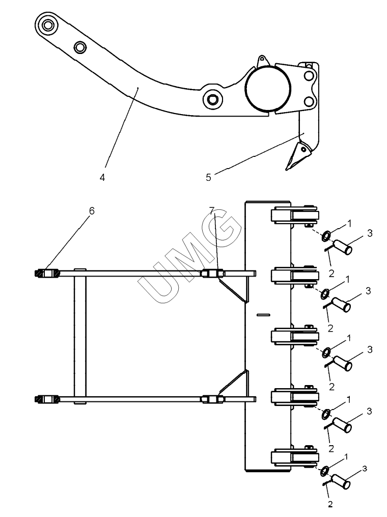
Позиция на иллюстрации Заводской номер детали Название детали
1 067.14.11.259 Шайба
2 Шплинт 8х80.019 Шплинт 8х80.019
3 067.43.11.265 Палец
4 ДЗ-98М1.18.01.000 Каркас рамы рыхлителя
5 ДЗ-98М1.18.00.030 Зуб
6 П А-010.01.00.001-03 Втулка
7 П А-010.01.00.001-04 Втулка
АвтоКаталог-онлайн предоставлен Компанией АвтоСофт