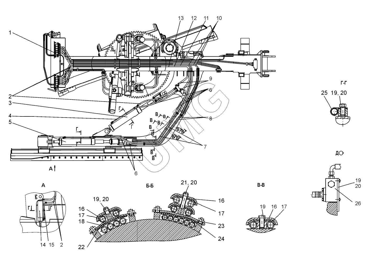
ДЗ-98В. Гидросистема бокового отвала (ДЗ-98Б0.43.10.000);Side mouldboard hydraulic system
1
2
2
3
4
5
6
6
7
8
9
10
11
12
13
14
15
16
16
16
17
17
17
18
19
19
19
19
20
20
20
20
21
22
23
24
25
26
26
| Позиция на иллюстрации | Заводской номер детали | Название детали | |
|---|---|---|---|
| 1 | ДЗ-98М1.43.13.300-4 | Установка гидрораспределителя | |
| 2 | РВД 15,9-100-1050-0,2-11/ 11.М27x1,5/М27x1,5-У1 | РВД 15,9-100-1050-0,2-11/ 11.М27x1,5/М27x1,5-У1 | |
| 3 | ГЦБО.43.03.000 | Гидроцилиндр | |
| 4 | ДЗ-98БО.43.00.040 | Труба | |
| 5 | ГЦБО.43.01.000 | Гидроцилиндр | |
| 6 | РВД 15,9-100-1650-0,2-11/ 11.М27x1,5/М27x1,5-У1 | РВД 15,9-100-1650-0,2-11/ 11.М27x1,5/М27x1,5-У1 | |
| 7 | ДЗ-98БО.43.00.020 | Труба | |
| 8 | ДЗ-98БО.43.00.010 | Труба | |
| 9 | РВД 15,9-100-1050-0,2-11/11.90-М27x1,5/М27x1,5-У1 | РВД 15,9-100-1050-0,2-11/11.90-М27x1,5/М27x1,5-У1 | |
| 10 | ДЗ-98В.43.00.460-03 | Труба | |
| 11 | ДЗ-98В.43.00.460-02 | Труба | |
| 12 | ДЗ-98В.43.00.460-01 | Труба | |
| 13 | ДЗ-98В.43.00.460 | Труба | |
| 14 | ГЦБО.43.02.000 | Гидроцилиндр | |
| 15 | ДЗ-98БО.43.00.50 | Труба | |
| 16 | Д395Б-31-023 | Хомут | |
| 17 | Д395Б-31-024 | Прокладка | |
| 18 | ДЗ-98М2.43.00.120 | Планка | |
| 19 | Болт М10-6gх20.58.019(S16) | Болт М10-6gх20.58.019(S16) | |
| 20 | Шайба 10.65Г.019 | Шайба 10.65Г.019 | |
| 21 | Болт М10-6gх45 .58.019(S16) | Болт М10-6gх45 .58.019(S16) | |
| 22 | ДЗ-98.43.00.103 | Прокладка | |
| 23 | ДЗ-98М2.43.00.110 | Планка | |
| 24 | ДЗ-98В.43.00.011 | Прокладка | |
| 25 | 067.36.11.561 | Хомут | |
| 26 | ГК43.02.200 | Блок клапанов | |
| 26 | ДЗ-98БО.43.00.070 | Блок предохранителей |