В товарах В каталоге запчастей

ДЗ-98В. Гидросистема навесного оборудования (ДЗ-98М2.45.00.000);Hydraulic system of attachments

zoom-in zoom-out enlarge shrink circle-right circle-left file-text2 info cart
1
2
3
4
5
7
8
9
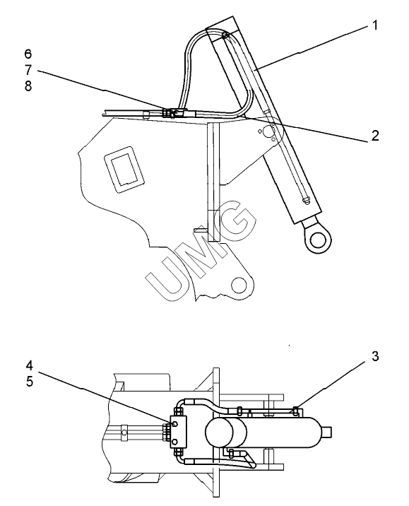
Позиция на иллюстрации Заводской номер детали Название детали
1 ГЦ100.60.25.000 Гидроцилиндр
2 РВД 15,9-100-750-0,18-11/11-90М27х1,5/М27х1,5-У1 РВД 15,9-100-750-0,18-11/11-90М27х1,5/М27х1,5-У1
3 ДЗ-98В1.5.43.00.220 Труба
4 Болт М10-6gх70.58.019(S18) Болт М10-6gх70.58.019(S18)
5 Шайба 10.65Г.019 Шайба 10.65Г.019
7 Гидрозамок FYYS20-03 Гидрозамок FYYS20-03
8 Штуцер ZL20-G01 Штуцер ZL20-G01
9 Уплотнение USIT M27 Уплотнение
АвтоКаталог-онлайн предоставлен Компанией АвтоСофт