Товары
Каталог запчастей
Личный кабинет
Авторизация
Портал для заказа запасных частей
В товарах
В каталоге запчастей
Внимание!!! Сайт только для тестирования.
Каталоги запчастей к технике UMG
ЧСДМ
ДЗ-98В
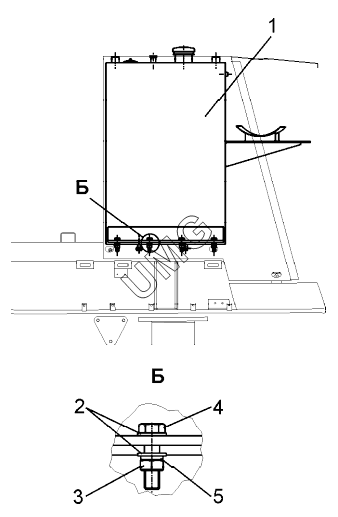
Установка топливного бака (ДЗ-98М2.31.40.100);Installing the fuel tank
ДЗ-98В. Установка топливного бака (ДЗ-98М2.31.40.100);Installing the fuel tank
zoom-in
zoom-out
enlarge
shrink
circle-right
circle-left
file-text2
info
cart
1
2
3
4
5
Позиция на иллюстрации
Заводской номер детали
Название детали
1
ДЗ-98М 1.31.05.000
Гайка М8-6H.5.019
2
Шайба С.16.02.019
Шайба С.16.02.019
3
Гайка М16-6H.5.019
Гайка М16-6H.5.019
4
Болт М16-6gх60.88.019
Болт М16-6gх60.88.019
5
Шайба 16 65Г 019
Шайба 16 65Г 019
Дополнительная информация
×
Название:
Номер:
Примечание:
АвтоКаталог-онлайн предоставлен
Компанией АвтоСофт