ДЗ-98В. Гидросистема автогрейдера (ДЗ-98М1.43.10.000);Motor grader hydraulic system
1
2
2
2
2
3
4
5
6
6
7
8
9
10
11
12
13
14
15
15
15
16
16
16
16
16
17
18
18
19
19
19
20
20
20
21
22
23
24
25
26
27
28
29
30
31
32
33
34
34
35
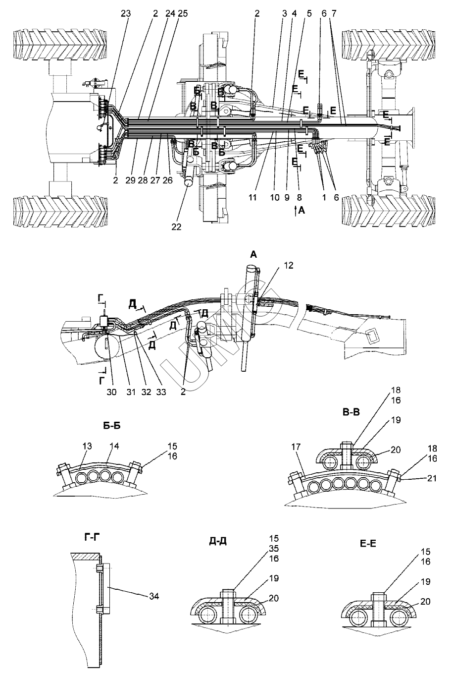
| Позиция на иллюстрации | Заводской номер детали | Название детали | |
|---|---|---|---|
| 1 | РВД15,9-100-1650-0,2-11/11.45М27х1,5/М27х1,5-У1 | РВД | |
| 2 | РВД15,9-100-1050-0,2-11/11.М27х1,5/М27х1,5-У1 | РВД | |
| 3 | ДЗ-98В.43.18.000 | Гидросистема отвала | |
| 4 | ДЗ-98В.43.00.450 | Труба | |
| 5 | ДЗ-98В.43.00.450-01 | Труба | |
| 6 | РВД15,9-100-1650-0,2.11/11.М27х1,5/М27х1,5-У1 | РВД | |
| 7 | ДЗ-98В.43.00.070 | Труба | |
| 8 | ДЗ-98В.43.00.460-03 | Труба | |
| 9 | ДЗ-98В.43.00.460-02 | Труба | |
| 10 | ДЗ-98В.43.00.460-01 | Труба | |
| 11 | ДЗ-98В.43.00.460 | Труба | |
| 12 | ДЗ-98В.43.05.000-01 | Установка гидрозамка | |
| 13 | ДЗ-98.43.00.103 | Прокладка | |
| 14 | ДЗ-98М2.43.00.102 | Планка | |
| 15 | БолтМ10-6gх30.58.019(S16) | Болт | |
| 16 | Шайба10.65Г.019 | Шайба 10.65Г.019 | |
| 17 | ДЗ-98М2.43.00.110 | Планка | |
| 18 | БолтМ10-6gх20.58.019(S16) | Болт | |
| 19 | Д395Б-31-023 | Хомут | |
| 20 | Д395Б-31-024 | Прокладка | |
| 21 | ДЗ-98В.43.00.011 | Прокладка | |
| 22 | ДЗ-98В.43.05.000 | Установка гидрозамка | |
| 23 | Заглушка D2612 M16x1,5 | Заглушка D2612 M16x1,5 | |
| 24 | ДЗ-98А.43.00.610 | Труба | |
| 25 | ДЗ-98А.43.00.610-01 | Труба | |
| 26 | ДЗ-98А.43.00.630-01 | Труба | |
| 27 | ДЗ-98А.43.00.630 | Труба | |
| 28 | ДЗ-98А.43.00.620-01 | Труба | |
| 29 | ДЗ-98А.43.00.620 | Труба | |
| 30 | Фитинг угловой 9502 12-М16х1,5 | Фитинг угловой 9502 12-М16х1,5 | |
| 31 | Трубк а HTRAB HTR 1 2/9-NAB | Трубк а HTRAB HTR 1 2/9-NAB | |
| 32 | Фитинг прямой 9512 12-М12х1,5 | Фитинг прямой 9512 12-М12х1,5 | |
| 33 | Д395А-0201918-4 | Сапун | |
| 34 | SNA 76B-S-T-10 | Уровнемер | |
| 34 | LVA10TAPM10 | Уровнемер | |
| 35 | Гайка М10-6H.5.019 S16) | Гайка М10-6H.5.019 S16) |