В товарах В каталоге запчастей

ДЗ-98В. Бак топливный (ДЗ-98М1.31.05.000);Fuel tank

zoom-in zoom-out enlarge shrink circle-right circle-left file-text2 info cart
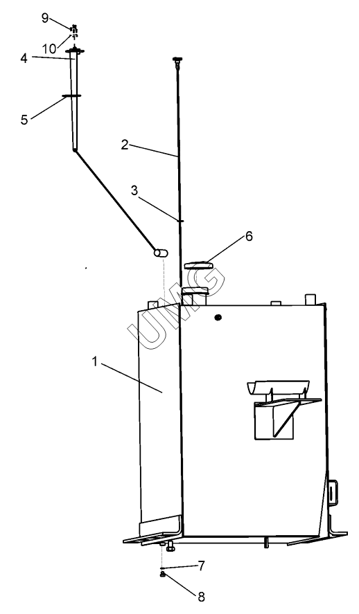
1
2
3
4
5
6
7
8
9
10
Позиция на иллюстрации Заводской номер детали Название детали
1 ДЗ-98М 1.31.05.010 Бак топливный
2 ДЗ-98М.31.02.030 Линейка топливомерная
3 Д395-0313122 Прокладка
4 7512.3827 Датчик указателя уровня топлива
5 ДЗ-98В.31.00.189 Прокладка
6 55.101-1103010 Крышка полуоборотная с замком
7 USIT М12 Уплотнение
8 TL155.31.03.004 Пробка
9 Винт В.М4-6дх10.58.019 Винт В.М4-6дх10.58.019
10 Шайба 4 65Г 019 Шайба 4 65Г 019
АвтоКаталог-онлайн предоставлен Компанией АвтоСофт