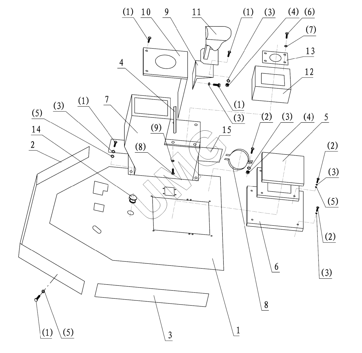
WL50. Пол в сборе
1
2
3
4
5
6
7
8
9
10
11
12
13
14
15
1.1
1.1
1.1
1.1
1.2
1.2
1.2
1.2
1.3
1.3
1.3
1.3
1.3
1.3
1.4
1.4
1.5
1.5
1.5
1.6
1.9
| Позиция на иллюстрации | Заводской номер детали | Название детали | |
|---|---|---|---|
| 1 | DG956N1-13201 | Нижняя панель | |
| 2 | DG956N1-13202 | Щиток | |
| 3 | DG956N1-13203 | Щиток | |
| 4 | ZLK18-14006 | Уплотнитель | |
| 5 | DG956-A13205 | Кронштейн сиденья | |
| 6 | DG956-A13206 | Плита | |
| 7 | DG956-A13204 | Кронштейн управляющего клапана | |
| 8 | DG938-A13201-4-1 | Хомут | |
| 9 | DG956-A13204-8 | Кронштейн | |
| 10 | DG956-A13204-7 | Верхняя панель | |
| 11 | DG956-A13204-9 | Подставка для руки | |
| 12 | DG965-06008-1 | Кожух | |
| 13 | DG965-06008-2 | Верхняя крышка | |
| 14 | DG956-A13207 | Крышка | |
| 15 | DG956N1-13205 | Щиток | |
| 1.1 | GB5783 M8x16 | Болт | |
| 1.2 | GB5783 M8x20 | Болт | |
| 1.3 | GB93 8 | Пружинная шайба | |
| 1.4 | GB6170 M8 | Гайка | |
| 1.5 | GB95 8 | Шайба | |
| 1.6 | GB5783 M6x12 | Шайба | |
| 1.9 | GB93 5 | Пружинная шайба |