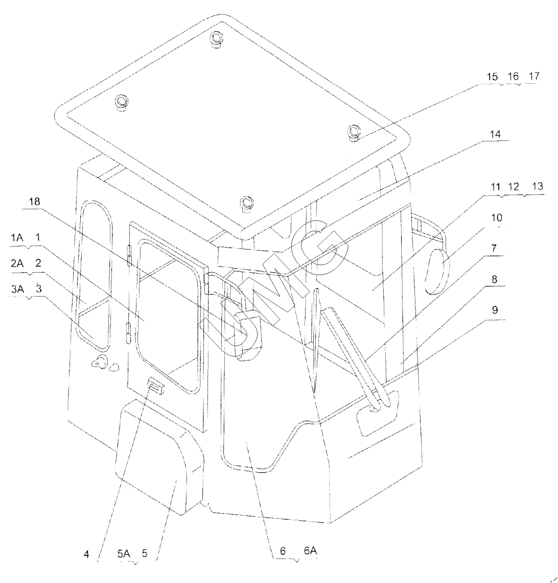
WL50. Кабина в сборе
1
1A
2
2A
3
3A
4
5
5A
6
6A
7
7
8
9
10
11
12
13
14
15
16
17
18
| Позиция на иллюстрации | Заводской номер детали | Название детали | |
|---|---|---|---|
| 1 | 1451-56-06005 | Стекло правой двери | |
| 1A | 1451-56-06007 | Уплотнитель | |
| 2 | 1451-56-00003 | Заднее ветровое стекло | |
| 2A | 1451-56-12000 | Уплотнитель | |
| 3 | 1451-56-00002 | Заднее боковое стекло | |
| 3A | 1451-56-13000 | Уплотнитель | |
| 4 | 1451-56-08000 | Защелка | |
| 5 | 1451-56-20000 | Корпус отопителя | |
| 5A | 1451-56-10000 | Корпус кондиционера | |
| 6 | 1451-56-00006 | Стекло правое | |
| 6A | 1451-56-00001 | Стекло левое | |
| 7 | D2800-05000A | Стеклоочиститель в сборе | |
| 7 | D2801-05000A | Стеклоочиститель в сборе | |
| 7-1 | D2801-06410-01 | Стеклоочиститель переднего ветрового стекла | |
| 7-2 | D2801-06410-02 | Моторчик стеклоочистителя переднего ветрового стекла | |
| 8 | 1451-56-00004 | Переднее ветровое стекло | |
| 9 | 1451-56-11000 | Уплотнитель | |
| 10 | 1451-56-03000 | Левое зеркало заднего вида | |
| 11 | 1451-56-05018 | Дверной замок | |
| 12 | 23Y-56B-12200 | Внутренний замок (левый) | |
| 13 | 23Y-56B-12300 | Внутренний замок (правый) | |
| 14 | 1451-56-05012 | Стекло левой двери | |
| 15 | 04530-01222 | Рым-болт | |
| 16 | 1451-56-02000 | Потолок | |
| 17 | 1451-91-A0000 | Отделка в сборе | |
| 18 | 1451-56-04000 | Правое зеркало заднего вида |