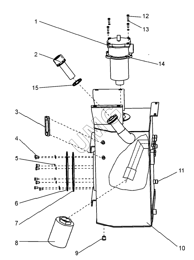
TL-155. Бак масляный (15502.43.15.000)
1
2
3
4
5
6
7
8
9
10
11
12
13
14
15
| Позиция на иллюстрации | Заводской номер детали | Название детали | |
|---|---|---|---|
| 1 | RFA-400X10F-Y | Фильтр | |
| 2 | QUQ2b-10x1.0 | Фильтр заливочный | |
| 3 | TF.127TB | Датчик уровня масла | |
| 4 | Болт М12-6gх20.58.019 | Болт М12-6gх20.58.019 | |
| 5 | Шайба 12 65Г 019 | Шайба 12 65Г 019 | |
| 6 | В190М.43.15.015 | Крышка | |
| 7 | Кольцо 260-270-58 | Кольцо | |
| 8 | Фильтр заборный XL-20 | Фильтр заборный XL-20 | |
| 9 | 067.44.12.021 | Пробка | |
| 10 | 15502.43.15.010 | Бак масляный | |
| 11 | ТМ-100В | Датчик температуры | |
| 12 | Болт М10-6gх30.58.019 | Болт М10-6gх30.58.019 | |
| 13 | Шайба 10 65Г 019 | Шайба 10 65Г 019 | |
| 14 | 15502.43.15.006 | Прокладка | |
| 15 | 15502.43.15.005 | Прокладка |