Товары
Каталог запчастей
Личный кабинет
Авторизация
Портал для заказа запасных частей
В товарах
В каталоге запчастей
Внимание!!! Сайт только для тестирования.
Каталоги запчастей к технике UMG
ЧСДМ
TL-155
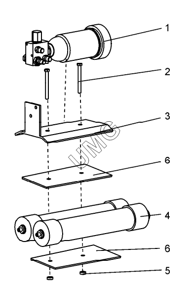
Блок аккумуляторов (TL155.42.00.040)
TL-155. Блок аккумуляторов (TL155.42.00.040)
zoom-in
zoom-out
enlarge
shrink
circle-right
circle-left
file-text2
info
cart
1
2
3
4
5
6
6
Позиция на иллюстрации
Заводской номер детали
Название детали
1
TL150.43.00.020
Блок питания
2
Болт М10-6gх125.58.019
Болт М10-6gх125.58.019
3
TL155.42.00.041
Кронштейн
4
TL150.42.00.010
Аккумулятор в сборе
5
Шайба 10.65Г.019
Шайба 10.65Г.019
6
TL155.42.00.044
Демпфер
Дополнительная информация
×
Название:
Номер:
Примечание:
АвтоКаталог-онлайн предоставлен
Компанией АвтоСофт