Товары
Каталог запчастей
Личный кабинет
Авторизация
Портал для заказа запасных частей
В товарах
В каталоге запчастей
Внимание!!! Сайт только для тестирования.
Каталоги запчастей к технике UMG
ЧСДМ
ДЗ-98В
Рама (ДЗ-98М1.18.00.010);Frame
ДЗ-98В. Рама (ДЗ-98М1.18.00.010);Frame
zoom-in
zoom-out
enlarge
shrink
circle-right
circle-left
file-text2
info
cart
1
1
1
1
1
2
2
2
2
2
3
3
3
3
3
4
5
6
7
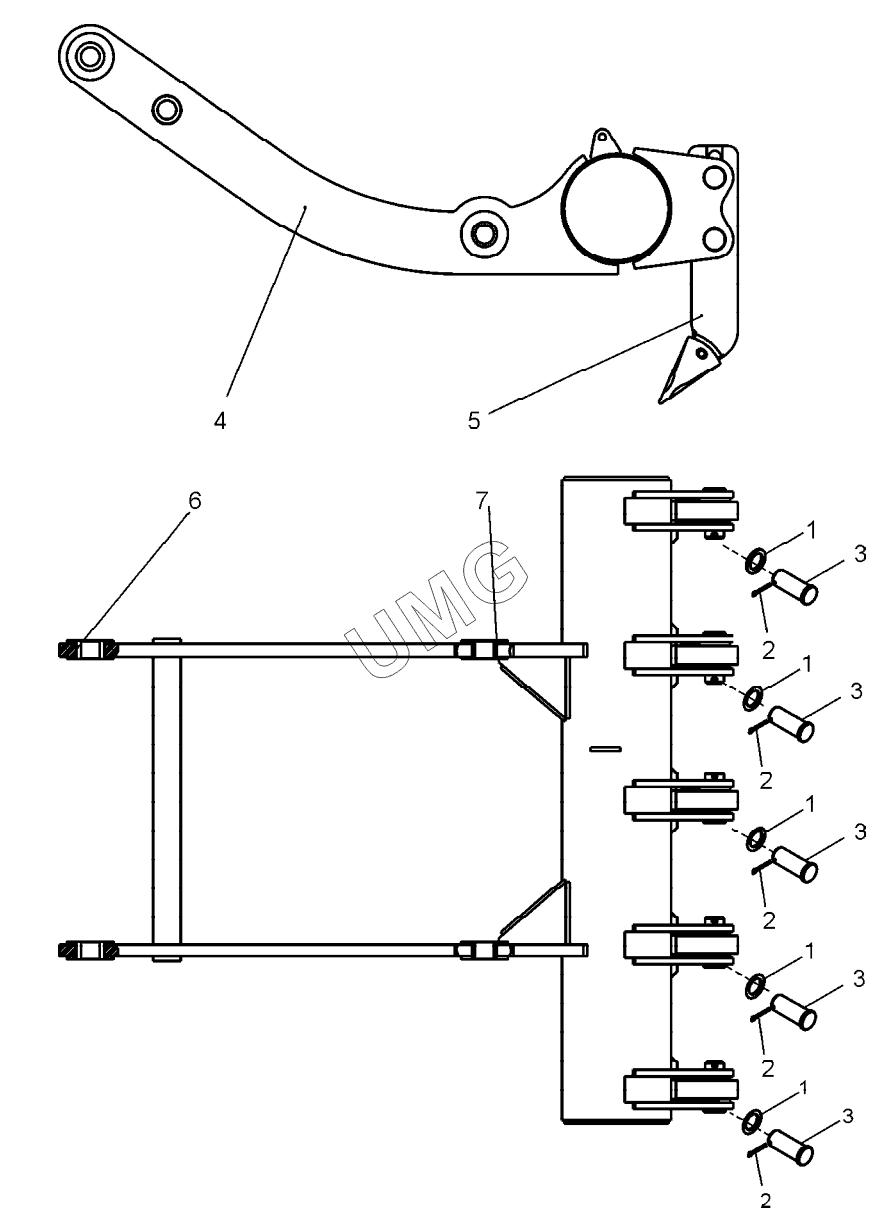
Позиция на иллюстрации
Заводской номер детали
Название детали
1
067.14.11.259
Шайба
2
Шплинт8х71.019
Шплинт
3
067.43.11.265
Палец
4
ДЗ-98М1.18.01.000
Каркас рамы рыхлителя
5
ДЗ-98М1.18.00.030
Зуб
6
ПА-010.01.00.001-03
Втулка
7
ПА-010.01.00.001-04
Втулка
Дополнительная информация
×
Название:
Номер:
Примечание:
АвтоКаталог-онлайн предоставлен
Компанией АвтоСофт