В товарах В каталоге запчастей

ДЗ-98В. Гидросистема навесного оборудования (ДЗ-98М2.45.00.000);Hydraulic system of attachments

zoom-in zoom-out enlarge shrink circle-right circle-left file-text2 info cart
1
2
3
4
5
7
8
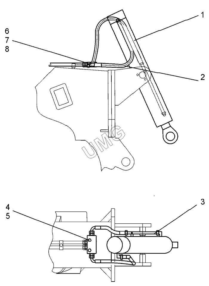
Позиция на иллюстрации Заводской номер детали Название детали
1 ГЦ100.60.25.000 Гидроцилиндр
2 РВД15,9-100-750-0,18-11/11-90М27х1,5/М27х1,5-У1 РВД
3 ДЗ-98В1.5.43.00.220 Труба
4 БолтМ10-6gх70.58.019(S18) Болт
5 Шайба10.65Г.019 Шайба 10.65Г.019
7 FYYS20-03 Гидрозамок
8 ZL20-G01 Штуцер
9 USITM27 Уплотнение
АвтоКаталог-онлайн предоставлен Компанией АвтоСофт