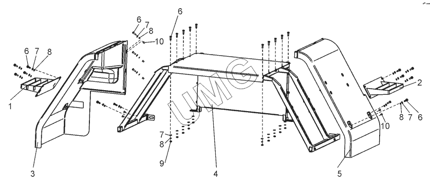
TL-150. Крыло заднее (TL150.53.12.100 изображено), (TL150.53.12.100-01 зеркально)
1
2
3
3
3
4
5
5
5
6
6
6
6
7
7
7
7
7
7
7
7
8
8
8
8
9
10
10
| Позиция на иллюстрации | Заводской номер детали | Название детали | |
|---|---|---|---|
| 1 | TL150.53.12.010 | Ступень | |
| 2 | TL150.53.12.010-01 | Ступень | |
| 3 | TL150.53.12.101 | Щиток передний | |
| 3 | TL150.53.12.101-01 | Щиток передний | |
| 4 | TL150.53.12.110 | Основание крыла | |
| 5 | TL150.53.12.102 | Щиток задний | |
| 5 | TL150.53.12.102-01 | Щиток задний | |
| 6 | БолтМ8-6gx25.58.019 | Болт М8-6gx25.58.019 | |
| 7 | ШайбаC8.02.019 | Шайба C8.02.019 | |
| 7 | ШайбаC8.02.019 | Шайба C8.02.019 | |
| 7 | TL150.53.12.103 | Шайба | |
| 8 | Шайба8.65Г.019 | Шайба 8.65Г.019 | |
| 9 | ГайкаМ10-6Н.5.019 | Гайка М10-6Н.5.019 | |
| 10 | ЗаклепкаM8 | Заклепка резьбовая |