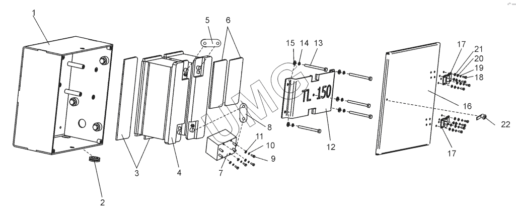
TL-150. Аккумуляторный ящик (TL150.41.21.020-01)
1
2
3
4
5
6
7
8
9
10
11
12
13
14
15
16
17
17
18
19
20
21
22
| Позиция на иллюстрации | Заводской номер детали | Название детали | |
|---|---|---|---|
| 1 | TL150.41.21.010-01 | Ящик | |
| 2 | Д395А-0401.300 | Кольцо | |
| 3 | TL150.41.21.007 | Демфер | |
| 4 | Аккумулятор | Аккумулятор автомоб.Topla Energy 110R 1000A обр.пол | |
| 5 | TL150.41.30.420-02 | Провод | |
| 6 | TL150.41.21.008 | Прокладка | |
| 7 | 6ЕК008776-031 | Выключатель батареи | |
| 8 | TL150.41.30.420 | Провод | |
| 9 | ВинтМ8-6gх30.58.019 | Винт М8-6gх30.58.019 | |
| 10 | Шайба8.65Г.019 | Шайба 8.65Г.019 | |
| 11 | ШайбаC8.02.019 | Шайба C8.02.019 | |
| 12 | TL150.41.21.004 | Прижим | |
| 13 | TL150.41.21.006 | Болт | |
| 14 | Шайба10.65Г.019 | Шайба 10.65Г.019 | |
| 15 | ШайбаC10.02.019 | Шайба C10.02.019 | |
| 16 | TL150.41.21.003-01 | Крышка | |
| 17 | 120012 | Петля для ящиков | |
| 18 | БолтМ6-6gх20.58.019 | Болт М6-6gх20.58.019 | |
| 19 | ГайкаМ6-6Н.5.019 | Гайка М6-6Н.5.019 | |
| 20 | Шайба6.65Г.019 | Шайба 6.65Г.019 | |
| 21 | ШайбаC6.02.019 | Шайба C6.02.019 | |
| 22 | 267-39 | Замок |