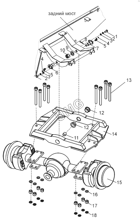
TL-150. Установка моста заднего (TL150.03.50.000)
1
2
2
3
3
4
4
5
5
6
7
8
9
10
11
12
12
13
14
15
16
17
18
| Позиция на иллюстрации | Заводской номер детали | Название детали | |
|---|---|---|---|
| 1 | БолтМ20-6gх35.58.019(S30) | Болт М20-6gх35.58.019 (S30) | |
| 2 | Шайба20.65Г.019 | Шайба 20.65Г.019 | |
| 3 | ШайбаС20.02.019 | Шайба С20.02.019 | |
| 4 | 24-2904142 | Колпачок пресс-масленки | |
| 5 | Масленка1.2.Ц6 | Масленка | |
| 6 | TL150.03.00.010 | Ось | |
| 7 | TL150.03.00.020 | Ось | |
| 8 | Шплинт8х63 | Шплинт 8х63 | |
| 9 | 067.14.11.092 | Шайба | |
| 10 | 067.13.12.093 | Гайка | |
| 11 | А120.61.00.001-03 | Втулка | |
| 12 | В138.03.00.019 | Втулка | |
| 13 | В140.04.00.020-01 | Шпилька | |
| 14 | TL150.03.00.100-01 | Рамка моста заднего | |
| 15 | ZL45B | Мост задний | |
| 16 | ШайбаС30.02.019 | Шайба С30.02.019 | |
| 17 | 067.13.11.094 | Гайка | |
| 18 | 067.13.11.095 | Гайка |