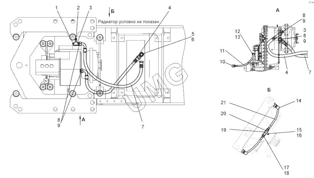
TL-150. Гидросистема гидромеханичексой передачи (TL150.12.00.000-02)
1
2
3
3
4
4
5
6
7
7
8
8
8
9
9
9
10
11
12
13
14
15
16
17
18
19
20
21
| Позиция на иллюстрации | Заводской номер детали | Название детали | |
|---|---|---|---|
| 1 | ТМ-100В | Датчик температуры | |
| 2 | RE95180 | Датчик температуры | |
| 3 | А120К.12.00.030 | Угольник | |
| 4 | РВД25.4-112-1200-0.34-12.90/12-М42х2/М42х2-У1Т | РВД | |
| 5 | 048.05.01.079 | Штуцер | |
| 6 | USIT250М42 | Уплотнение | |
| 7 | РВД25.4-110-2200-0.34-12.90/12-М42х2/М42х2-У1 | РВД | |
| 8 | А120К.12.00.002 | Штуцер | |
| 9 | USIT244М33 | Уплотнение | |
| 10 | 11.3829 | Датчик давления | |
| 11 | РВД6.4-90-700-0.1-09/25-D10/K1/4-Y1 | РВД | |
| 12 | Болт10.Б.03-М10х1 | Болт 10.Б.03-М10х1 | |
| 13 | КольцоМ10 | Кольцо уплотнительное М10 | |
| 14 | ДЗ-98М1.12.00.010 | Тройник | |
| 15 | 048.05.01.105 | Штуцер | |
| 16 | USIT240М27 | Уплотнение | |
| 17 | БолтМ10-6gх20.58.019(S10) | Болт М10-6gх20.58.019(S10) | |
| 18 | Шайба10.65Г.019 | Шайба 10.65Г.019 | |
| 19 | 067.36.11.638 | Хомут | |
| 20 | VUC34/2.5 | Клапан обратный | |
| 21 | РВД12.7-110-650-0.18-11-90/11М22х1.5/М22х1.5-У1 | РВД |