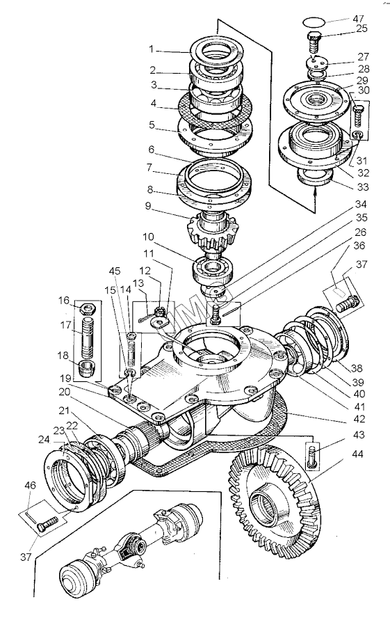
ДЗ-98В. Мост передний ведущий (ДЗ-98В1.61.00.000)
1
2
3
4
5
6
7
8
9
9
9
10
11
12
13
14
15
16
17
18
19
20
21
22
23
24
25
26
27
28
29
30
31
32
33
34
35
36
37
37
38
39
40
41
42
43
44
44
44
45
46
47
| Позиция на иллюстрации | Заводской номер детали | Название детали | |
|---|---|---|---|
| 1 | Д395В.62.00.014 | Отражатель | |
| 2 | 315 | Подшипник 315 | |
| 3 | 2315 | Подшипник 2315 | |
| 4 | Д395В.62.00.018 | Прокладка | |
| 5 | Д395В.62.00.012 | Стакан | |
| 6 | Кольцо170-180-58-2-2 | Кольцо 170-180-58-2-2 | |
| 7 | Д395В.62.00.015 | Прокладка толстая | |
| 8 | Д395В.62.00.017 | Прокладка средняя | |
| 9 | Д395В.62.00.008 | Вал-шестерня | |
| 9 | ДЗ-98В1.62.00.074 | Вал-шестерня | |
| 10 | 32311 | Подшипник 32311 | |
| 11 | Д394.0201.104 | Шайба | |
| 12 | Д394.0201.155 | Гайка М8 | |
| 13 | Шплинт2х20 | Шплинт 2х20 | |
| 14 | 067.13.11.025 | Гайка | |
| 15 | Шайба16.65Г.019 | Шайба 16.65Г.019 | |
| 16 | Д144-49-108 | Гайка | |
| 17 | Д144-49-107 | Шпилька | |
| 18 | Д144-49-109 | Втулка конусная | |
| 19 | Д395В.62.00.011 | Кронштейн главной передачи | |
| 20 | Д395В.62.00.002 | Втулка шлицевая | |
| 21 | 7218 | Подшипник 7218 | |
| 22 | Д394.0201.026 | Прокладка толстая | |
| 23 | Д394.0201.027 | Прокладка средняя | |
| 24 | Д394.0201.054 | Крышка подшипника | |
| 25 | БолтМ12-6gх30.88.019 | Болт | |
| 26 | Проволока | Проволока | |
| 27 | Д395Б.05.016 | Шайба | |
| 28 | Кольцо052-058-36-2-2 | Кольцо | |
| 29 | Д395В.62.00.060 | Фланец | |
| 30 | БолтМ12-6gх50.58.029 | Болт | |
| 31 | Шайба12.65Г.069 | Шайба 12.65Г.069 | |
| 32 | ДЗ-98Б.62.00.058 | Крышка подшипника | |
| 33 | Манжета2.2-90х120-1 | Манжета 2.2-90х120-1 | |
| 34 | Д395.0201.185 | Шайба | |
| 35 | Д144-13-036 | Болт | |
| 36 | ДЗ-98В1.62.00.078 | Планка | |
| 37 | БолтМ10-6gх30.58.019 | Болт | |
| 38 | Д394.0201.050 | Крышка подшипника | |
| 39 | Д394.0201.018 | Прокладка тонкая | |
| 40 | Д394.0201.016 | Прокладка толстая | |
| 41 | 7313-К1 | Подшипник 7313-К1 | |
| 42 | Д394.0201.055 | Прокладка | |
| 43 | ДЗ-98.62.00.048 | Болт | |
| 44 | Д395А-0201199 | Шестерня коническая | |
| 44 | ДЗ-98В1.62.00.075 | Шестерня коническая | |
| 45 | 067.15.11.142 | Шпилька | |
| 46 | ДЗ-98В1.62.00.081 | Планка | |
| 47 | ДЗ-98.16.01.033 | Шайба стопорная |