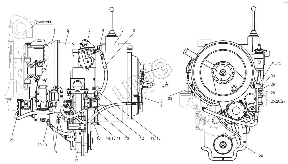
ДЗ-98В. Трансмиссия (ДЗ-98В.10.00.000)
1
2
3
4
5
6
7
8
9
9
10
11
11
12
13
14
15
16
17
18
19
20
21
22
23
24
25
26
27
28
29
30
31
32
| Позиция на иллюстрации | Заводской номер детали | Название детали | |
|---|---|---|---|
| 1 | ДЗ-98В.10.06.000 | Редуктор промежуточный | |
| 2 | ДЗ-98.10.02.000-1 | Муфта сцепления | |
| 3 | ДЗ-98.10.03.110 | Установка сервомеханизма | |
| 4 | ДЗ-98В.10.00.050 | Труба | |
| 5 | ДЗ-98.10.04.000 | Коробка передач | |
| 6 | РВД16.120.1250.0,2.11-900/11.М27х1,5/М27х1,5-У1 | Рукав | |
| 7 | Д394.0402.058 | Ниппель концевой | |
| 8 | БолтМ12-6gx35.56.019 | Болт | |
| 9 | Шайба12.65Г.019 | Шайба 12.65Г.019 | |
| 10 | БолтМ16-6gx50.56.019 | Болт | |
| 11 | Шайба16.65Г.019 | Шайба 16.65Г.019 | |
| 12 | Д395Б.10.001 | Муфта | |
| 13 | РВД16.120.900.0,2.11-900/11.М27х1,5/М27х1,5-У1 | Рукав | |
| 14 | БолтМ16-6gx65.56.019 | Болт | |
| 15 | ГайкаМ16-6Н.5.019(S24) | Гайка М16-6Н.5.019(S24) | |
| 16 | ДЗ-98.10.00.022 | Прокладка | |
| 17 | ДЗ-98.10.05.000-02 | Редуктор раздаточный | |
| 18 | 067.51.00.206 | Пружина | |
| 19 | ДЗ-98В.10.00.052 | Рукав | |
| 20 | Хомут1Л25-40-6 | Хомут 1Л 25-40-6 | |
| 21 | РВД20.129.1100.0,2.11-900/11.М33х2/М33х2-У1 | Рукав | |
| 22 | Д395Б.01.053 | Болт | |
| 23 | Д395Б.02.044 | Опора | |
| 24 | ДЗ-98.10.00.034 | Рукав | |
| 25 | БолтМ24-6gx75.56.019 | Болт | |
| 26 | ГайкаМ24-6Н.5.019(S36) | Гайка М24-6Н.5.019(S36) | |
| 27 | Шайба24.65Г.019 | Шайба 24.65Г.019 | |
| 28 | Д395Б.02.043 | Корпус опоры | |
| 29 | Д395Б.02.046 | Прокладка | |
| 30 | Д395Б.02.045 | Крышка опоры | |
| 31 | БолтМ20-6gx65.56.019 | Болт | |
| 32 | Шайба20.65Г.019 | Шайба 20.65Г.019 |