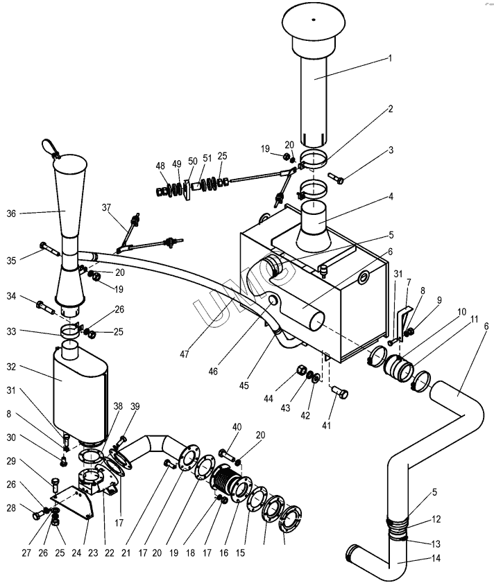
ДЗ-98В.1 (дополнение). Система всасывания и выхлопа (ДЗ-98Э.32.00.000)
1
2
3
4
5
5
6
6
7
8
8
9
10
11
12
13
14
15
16
17
17
17
18
19
19
19
20
20
20
20
21
22
23
24
25
25
25
26
26
26
27
28
29
30
31
31
32
33
34
35
36
37
38
39
40
41
42
43
44
45
45
46
47
48
49
50
51
| Позиция на иллюстрации | Заводской номер детали | Название детали | |
|---|---|---|---|
| 1 | ДЗ-98В.32.00.200 | Воздухозаборная труба | |
| 2 | 067.36.11.142 | Хомут | |
| 3 | ГОСТ7798-70 | Болт | |
| 4 | ДЗ-98В9.32.10.010 | Воздухоочиститель | |
| 5 | ДЗ-98В.32.00.130 | Хомут | |
| 6 | ТУ38.105.1480-82 | Рукав 125х925 | |
| 7 | ДЗ-98Э.32.00.320 | Кронштейн | |
| 8 | ГОСТ6402-70 | Шайба | |
| 9 | ГОСТ5915-70 | Гайка | |
| 10 | 067.36.11.138 | Хомут | |
| 11 | ДЗ-98Э.32.00.310 | Патрубок | |
| 12 | ТО-40.32.10.210 | Переходник | |
| 13 | ХомутСА | Хомут СА | |
| 14 | РукавСА9021 | Рукав резиновый СА9021 | |
| 15 | ДЗ-98Э.32.00.319 | Полукольцо | |
| 16 | ДЗ-98Э.32.00.318 | Фланец | |
| 17 | ДЗ-98.32.00.059 | Прокладка | |
| 18 | ДЗ-98.32.00.590 | Компенсатор | |
| 19 | ГОСТ5915-70 | Гайка | |
| 20 | ГОСТ6402-70 | Шайба | |
| 21 | ДЗ-98Э.32.00.330 | Труба | |
| 22 | ГОСТ7798-70 | Болт | |
| 23 | ДЗ-98В.32.00.141 | Переходник | |
| 24 | ДЗ-98.32.00.142 | Кронштейн | |
| 25 | ГОСТ5915-70 | Гайка | |
| 26 | ГОСТ6402-70 | Шайба | |
| 27 | ГОСТ11371-78 | Шайба | |
| 28 | ГОСТ7798-70 | Болт | |
| 29 | ГОСТ7798-70 | Болт | |
| 30 | 067.44.12.007 | Пробка | |
| 31 | ГОСТ7798-70 | Болт | |
| 32 | ДЗ-140А.32.00.510 | Глушитель | |
| 33 | 067.36.11.117 | Хомут | |
| 34 | ГОСТ7798-70 | Болт | |
| 35 | ГОСТ7798-70 | Болт | |
| 36 | ДЗ-98В.32.10.200-01 | Эжектор | |
| 37 | ДЗ-98В.32.00.120-01 | Стяжка | |
| 38 | ДЗ-98В.32.00.157 | Прокладка | |
| 39 | ГОСТ7798-70 | Болт | |
| 40 | ГОСТ7798-70 | Болт | |
| 41 | ГОСТ7798-70 | Болт | |
| 42 | ГОСТ11371-78 | Шайба | |
| 43 | ГОСТ6402-70 | Шайба | |
| 44 | ГОСТ5915-70 | Гайка | |
| 45 | ДЗ-98.43.00.480-02 | Хомут | |
| 45 | ХомутН-44 | Хомут винтовой | |
| 46 | 067.31.11.047 | Бобышка | |
| 47 | ДЗ-98В9.32.00.009 | Рукав | |
| 48 | ДЗ-98В1.33.00.003-01 | Шайба | |
| 49 | ДЗ-98В1.33.00.006 | Кольцо | |
| 50 | ДЗ-98В.32.00.153 | Стойка | |
| 51 | ДЗ-98В1.33.00.007 | Втулка |