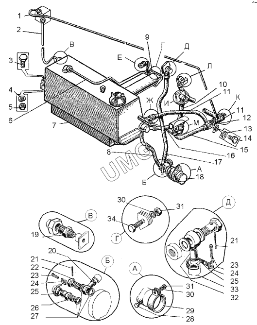
ДЗ-98В.1. Система смазки (ДЗ-98.38.00.000-01)
1
2
3
4
5
6
7
8
9
10
11
11
12
13
14
15
16
17
18
19
20
21
21
22
23
23
24
24
25
25
26
27
28
29
30
30
31
31
32
33
34
| Позиция на иллюстрации | Заводской номер детали | Название детали | |
|---|---|---|---|
| 1 | Д395.0302.920 | Трубопровод к компрессору | |
| 2 | Д395.0302.919 | Трубопровод от компрессора | |
| 3 | М12-6gх30.58.0197796 | Болт | |
| 4 | 12.65Г.0696402 | Шайба | |
| 5 | М12-6Н.5.0195915 | Гайка | |
| 6 | Д395.0302.925-1 | Трубопровод отвода ленты | |
| 7 | ДЗ-98.38.00.020 | Бак масляный | |
| 8 | ДЗ-98.38.00.014 | Шланг | |
| 9 | ДЗ-98.38.00.030 | Патрубок выхлопной | |
| 10 | Д395А.0302.918-1 | Трубопровод от бака к насосу | |
| 11 | Д395.0302.031-01 | Шланг | |
| 12 | ДЗ-98.38.00.100 | Клапан редукционный | |
| 13 | 10.65Г.0696402 | Шайба | |
| 14 | М10-6gх20.58.0197796 | Болт | |
| 15 | Д395.0302.921-1 | Трубопровод от радиатора до клапана | |
| 16 | Д395.0302.952 | Трубопровод от радиатора к баку | |
| 17 | ДЗ-98.38.00.080 | Трубопровод | |
| 18 | МЗН-2 | Насос маслоэакачивающий | |
| 19 | Д394.0402.058 | Ниппель концевой | |
| 20 | ДЗ-98.38.00.060 | Угольник | |
| 21 | 13282 | Проволока I=200мм | |
| 22 | 41274 | Зажим | |
| 23 | 6,3х36397 | Шплинт | |
| 24 | 700-41-3442 | Рамка | |
| 25 | Д395.0302.059 | Лента | |
| 26 | ДЗ-98.38.00.013 | Штуцер | |
| 27 | Кольцо22х30 | Кольцо медное | |
| 28 | М10-6gх30.58.0197796 | Болт | |
| 29 | Д395.0302.096 | Лента | |
| 30 | 10.65Г.0696402 | Шайба | |
| 31 | М10-6Н.5.0195915 | Гайка | |
| 32 | ДЗ-98.38.00.070 | Угольник | |
| 33 | Д395.0302.024 | Шланг | |
| 34 | М10-6gх25.58.0197796 | Болт |