В товарах В каталоге запчастей

ДЗ-98В.1. Система охлаждения и разогрева двигателя (ДЗ-98В.33.00.000-05)

zoom-in zoom-out enlarge shrink circle-right circle-left file-text2 info cart
1
2
2
2
2
3
3
3
3
4
5
6
7
8
8
9
10
10
11
12
13
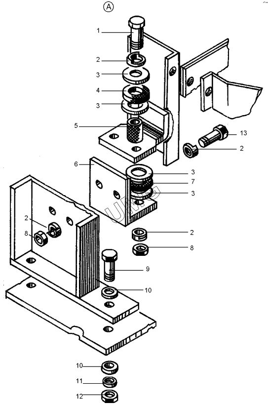
Позиция на иллюстрации Заводской номер детали Название детали
1 М12-6gх55.58.0197798 Болт
2 067.33.12.145 Планка
3 ДЗ-98В1.33.00.003-01 Шайба
4 ДЗ-98В1.33.00.006 Кольцо
5 ДЗ-98В1.33.00.007 Втулка
6 ДЗ-98В.33.00.107 Кронштейн
7 ДЗ-98В.33.00.068 Стяжка
8 М12.6Н.5.0195915 Гайка
9 М16-6gх55.58.0197798 Болт
10 С16.02.01911371 Шайба
11 16.65Г.0196402 Шайба
12 М16.6Н.5.0195915 Гайка
13 М16-6gх25.58.0197798 Болт
АвтоКаталог-онлайн предоставлен Компанией АвтоСофт