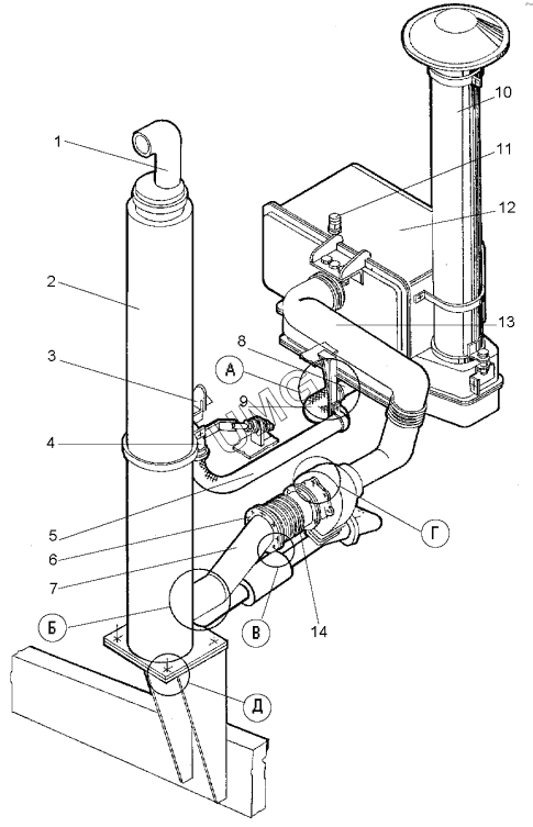
ДЗ-98В.1. Система всасывания и выхлопа (ДЗ-98В.32.00.000-01)
1
2
3
4
5
6
7
8
9
10
11
12
13
14
| Позиция на иллюстрации | Заводской номер детали | Название детали | |
|---|---|---|---|
| 1 | 2256010-12.00.120 | Насадок | |
| 2 | 2256010-12.00.070 | Глушитель | |
| 3 | ДЗ-98В.32.00.106 | Стойка | |
| 4 | ДЗ-98В.32.00.134 | Труба | |
| 5 | ДЗ-98В.32.00.107 | Рукав 50х61.5 16 I=1600 мм | |
| 6 | ДЗ-98.32.00.059 | Прокладка | |
| 7 | ДЗ-98В.32.00.100 | Труба | |
| 8 | ДЗ-98В.32.00.136 | Рукав 50х16.5-16 I=150 мм | |
| 9 | ДЗ-98В.32.00.140 | Переходник | |
| 10 | ДЗ-98В.32.00.200 | Воздухозаборная труба | |
| 11 | ИЗВ-500 | Индикатор засоренности воздуха | |
| 12 | 2256010-19.04.000 | Воздухоочиститель второй ступени | |
| 13 | Рукав125х925 | Рукав | |
| 14 | ДЗ-98.32.00.590 | Компенсатор |