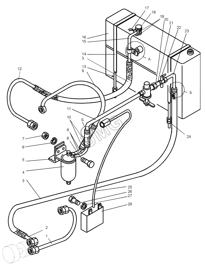
ДЗ-98В.1. Топливная система (ДЗ-98В9.31.00.000)
1
2
3
3
4
5
6
7
8
9
9
10
11
12
13
14
15
16
17
18
19
20
21
22
23
24
25
26
27
28
| Позиция на иллюстрации | Заводской номер детали | Название детали | |
|---|---|---|---|
| 1 | ДЗ-98.33.00.160 | Трубка подачи топлива | |
| 2 | ДЗ-98В9.31.00.030 | Трубка | |
| 3 | ДЗ-98В9.31.00.004 | Рукав | |
| 4 | ФГ-75 | Фильтр | |
| 5 | ДЗ-98.31.00.158 | Кронштейн фильтра | |
| 6 | 1265Г.0196402 | Шайба | |
| 7 | М12-6Н.5.0195915 | Гайка | |
| 8 | М12-6gх40.58.0197798 | Болт | |
| 9 | ДЗ-98В9.31.00.020 | Трубка | |
| 10 | ДЗ-98В9.31.00.003 | Рукав | |
| 11 | ДЗ-98В9.31.00.010 | Трубка | |
| 12 | ДЗ-98В9.31.00.060 | Трубка | |
| 13 | Д395В.31.00.001 | Прокладка | |
| 14 | Д395В.31.00.030 | Лента | |
| 15 | ДЗ-98В9.31.00.050 | Трубка | |
| 16 | ДЗ-98В.31.00.030 | Топливный бак | |
| 17 | 3,0-O-С3282 | Проволока | |
| 18 | Д395.03.03.035 | Болт | |
| 19 | Д395Б.02.029 | Прокладка | |
| 20 | 048.08.00.003 | Гайка | |
| 21 | ДЗ-98В9.31.00.007 | Ниппель | |
| 22 | 2201С-28-Б | Краник проходной | |
| 23 | ДЗ-98В9.31.00.070 | Трубка | |
| 24 | М16-6Н.5.0195915 | Гайка | |
| 25 | ДЗ-98В9.31.00.040 | Трубка слива | |
| 26 | М10-6gх20.58.0197798 | Болт | |
| 27 | 1065Г.0196402 | Шайба | |
| 28 | ДЗ-98В.31.00.200 | Бачок |