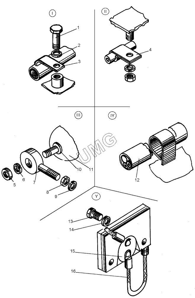
ДЗ-98В.1. Установка электрооборудования (ДЗ-98В5.41.00.000)
1
2
3
4
5
6
7
8
9
10
11
12
13
14
15
16
| Позиция на иллюстрации | Заводской номер детали | Название детали | |
|---|---|---|---|
| 1 | М10-6gх20.58.0197798 | Болт | |
| 2 | 10.65Г.0696402 | Шайба | |
| 3 | ДЗ-98.41.00.002 | Хомутик | |
| 4 | 067.36.11.517 | Хомут | |
| 5 | М12х1,25-6Н.5.0195915 | Гайка | |
| 6 | С12.02.01911371 | Шайба | |
| 7 | ДЗ-98.41.06.000 | Кронштейн | |
| 8 | М10-6Н.5.0195915 | Гайка | |
| 9 | 10.65Г.0696402 | Шайба | |
| 10 | 305.3711 | Фара | |
| 11 | А24-60+402023.1 | Лампа | |
| 12 | Д398.41.00.008 | Прокладка | |
| 13 | В.М4-6gх10.58.01917473 | Винт | |
| 14 | 4.65Г.0696402 | Шайба | |
| 15 | ШР-51 | Розетка | |
| 16 | ДЗ-98А.41.00.280-02 | Провод |