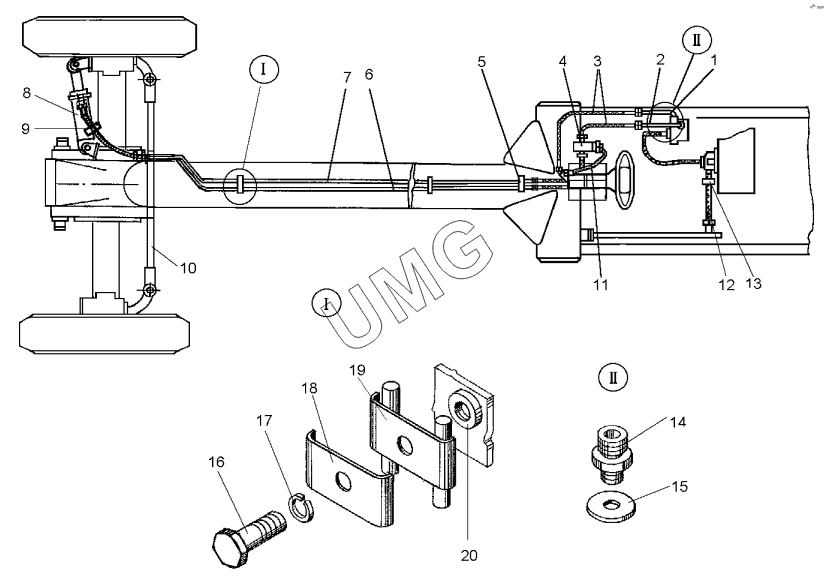
ДЗ-98В.1. Управление рулевое (ДЗ-98В.14.00.000)
1
2
3
4
5
6
7
8
8
9
10
11
12
13
14
15
16
17
18
19
20
| Позиция на иллюстрации | Заводской номер детали | Название детали | |
|---|---|---|---|
| 1 | ДЗ-98Б.14.00.610 | Трубопровод | |
| 2 | ДЗ-98В.14.00.030 | Труба | |
| 3 | РВД16-16,5-1050 | Рукав | |
| 4 | ДЗ-98В.14.00.040 | Клапан | |
| 5 | ДЗ-98В.14.00.630 | Кронштейн | |
| 6 | ДЗ-98В.14.00.010-01 | Трубопровод | |
| 7 | ДЗ-98В.14.00.010 | Трубопровод | |
| 8 | Д395Б-43-670 | Гидроцилиндр | |
| 8 | ДЗ-98В1.14.00.700 | Гидроцилиндр | |
| 9 | 700-41-3442 | Рамка | |
| 10 | Д395Б-43-010 | Тяга поперечная | |
| 11 | РВД16-16,5-650 | Рукав | |
| 12 | ДЗ-98.14.00.014 | Рукав 32х43-16 | |
| 13 | ДЗ-98.43.00.480 | Хомут | |
| 14 | 048.05.01.001 | Штуцер | |
| 15 | Д395.03.02.109 | Кольцо медное | |
| 16 | М10-6gх20.58.0197798 | Болт | |
| 17 | 10.65Г.0696402 | Шайба | |
| 18 | Д395Б.31.023 | Хомут | |
| 19 | Д395Б.31.024 | Пластина | |
| 20 | 067.42.11.005 | Бонка |