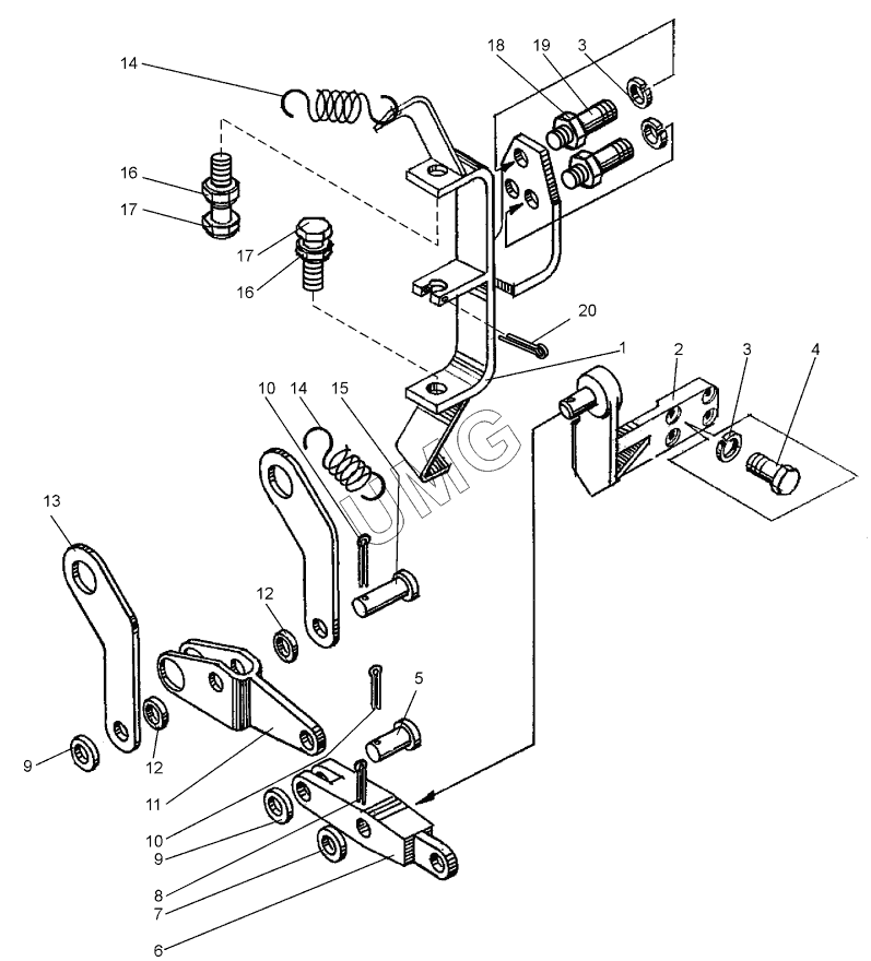
ДЗ-98В.1. Тормоз стояночный (ДЗ-98.10.07.000-02)
1
2
3
3
4
5
6
7
8
9
9
10
10
11
12
12
13
14
14
15
16
16
17
17
18
19
20
| Позиция на иллюстрации | Заводской номер детали | Название детали | |
|---|---|---|---|
| 1 | ДЗ-98.10.07.160 | Кронштейн | |
| 2 | ДЗ-98.10.07.130 | Кронштейн | |
| 3 | 12.65Г.0696402 | Шайба | |
| 4 | М12-6gх30.58.0297796 | Болт | |
| 5 | Д395А-0117008 | Палец | |
| 6 | ДЗ-98.10.07.062 | Рычаг | |
| 7 | 20.04.0211371 | Шайба | |
| 8 | 4х25-019397 | Шплинт | |
| 9 | 12.01.0211371 | Шайба | |
| 10 | 3,2х20-019397 | Шплинт | |
| 11 | Д395В.10.07.020 | Рычаг | |
| 12 | Д395-0303050 | Шайба | |
| 13 | ДЗ-98.10.07.046 | Рычаг | |
| 14 | ДЗ-98.10.07.039 | Пружина | |
| 15 | ДЗ-98.10.07.045 | Палец | |
| 16 | М10-6Н.5.0295915 | Гайка | |
| 17 | М10х30.58.0297796 | Болт | |
| 18 | M12.5.0295915 | Гайка | |
| 19 | M12x3515661176526 | Шпилька | |
| 20 | 6,3х50-019397 | Шплинт |