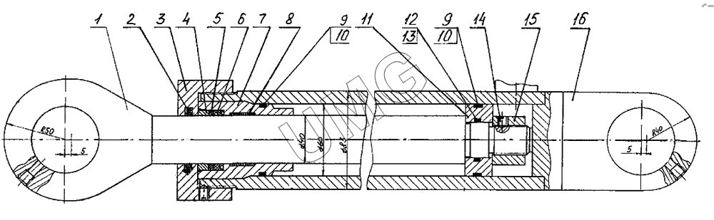
E185W (ЕК-18). Гидроцилиндр 060-40-03.00.000
1
2
2
3
4
5
6
7
8
9
9
10
10
11
12
13
14
15
16
| Позиция на иллюстрации | Заводской номер детали | Название детали | |
|---|---|---|---|
| 1 | 060-40-03.00.200 | Шток сварной | |
| 2 | Е52-040 | Грязесъемник | |
| 2 | 01-040 | Кольцо | |
| 3 | 313-00-40.11.402 | Гайка | |
| 4 | 313-00-40.11.403 | Кольцо | |
| 5 | 313-00-40.10.312 | Кольцо защитное | |
| 6 | 14896.1-50x40 | Манжета | |
| 7 | 313-00-40.11.401 | Букса | |
| 8 | Е22-040-20-3,0 | Кольцо | |
| 9 | ЭО-3323А.71.80.109 | Кольцо защитное | |
| 10 | 9833.055-060-30-2-3 | Кольцо | |
| 11 | 060-40-03.00.006 | Поршень | |
| 12 | ЭО-3323А.71.80.112 | Шайба защитная | |
| 13 | 9833.030-035-30-2-3 | Кольцо | |
| 14 | 1476.ВМ8-8gх12.14H.019 | Винт | |
| 15 | ЭО-3323А.71.80.301 | Гайка | |
| 16 | 060-40-03.00.100 | Цилиндр сварной |