Товары
Каталог запчастей
Личный кабинет
Авторизация
Портал для заказа запасных частей
В товарах
В каталоге запчастей
Внимание!!! Сайт только для тестирования.
Каталоги запчастей к технике UMG
ТВЭКС
E185W (ЕК-18)
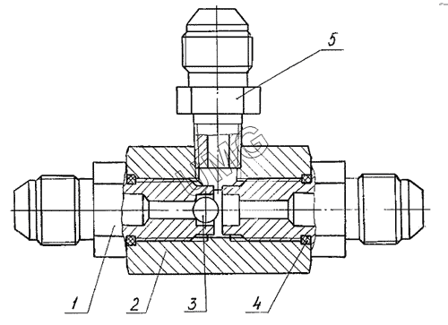
Клапан ЭО-3323А.07.15.020
E185W (ЕК-18). Клапан ЭО-3323А.07.15.020
zoom-in
zoom-out
enlarge
shrink
circle-right
circle-left
file-text2
info
cart
1
2
3
4
5
Позиция на иллюстрации
Заводской номер детали
Название детали
1
ЭО-3323А.07.15.022
Штуцер
2
ЭО-3323А.07.15.021
Корпус
3
3722.Б8-100
Шарик
4
9833.012-016-25-2-3
Кольцо
5
ЭО-3322А.24.00.005
Штуцер
Дополнительная информация
×
Название:
Номер:
Примечание:
АвтоКаталог-онлайн предоставлен
Компанией АвтоСофт