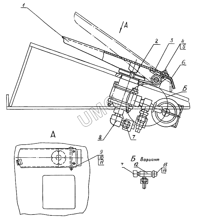
E145W (ЕК-14). Установка педали тормоза хода 13.01.03.010
1
2
3
4
5
6
7
7
8
9
10
11
12
13
14
| Позиция на иллюстрации | Заводской номер детали | Название детали | |
|---|---|---|---|
| 1 | 13.01.03.011 | Педаль | |
| 2 | Э302-1-1201-17 | Шайба стопорная | |
| 3 | ЭО-3322А.09.02.001 | Пружина | |
| 4 | 17473.В1М6-80х12.58.019 | Винт | |
| 5 | 11371.6.01.019 | Шайба | |
| 6 | 13.01.03.013 | Упор | |
| 7 | ЭО-3323.07.06.400 | Золотник дифференциальный | |
| 8 | ЭО-3322А.09.20.009 | Угольник | |
| 9 | 13.01.03.015 | Ось | |
| 10 | 11371.8.01.019 | Шайба | |
| 11 | 397.2х14.019 | Шплинт | |
| 12 | 005-01-81.00.001 | Тройник | |
| 13 | 23358.12М3 | Прокладка | |
| 14 | 28023829 | Датчик |